Operation CHARM: Car repair manuals for everyone.
Manuals through 2025 now available!

Our trusted friends have launched a new website named LEMON, which has newer manuals. It also contains all the CHARM manuals.

LEMON is the spiritual successor to CHARM, I recommend you try it!

Link: lemon-manuals.la or lemon-manuals.org.ua

(Some people have issue connecting. LEMON is investigating. For now, use Firefox or change your DNS server)

Or, hide this message: temporarily or permanently

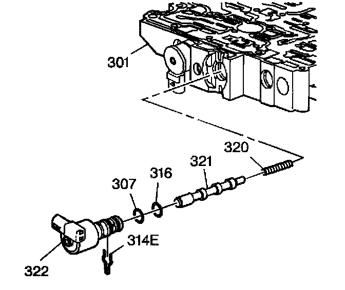
Pressure Control Solenoid Replacement

Removal Procedure





1. Remove the case side cover. Refer to Case Side Cover Replacement.
2. Disconnect the transaxle wiring harness.
3. Remove the pressure control solenoid (322).


Installation Procedure





1. Install the pressure control solenoid (322).
2. Connect the transaxle wiring harness.
3. Install the case side cover. Refer to Case Side Cover Replacement.