Operation CHARM: Car repair manuals for everyone.
Manuals through 2025 now available!

Our trusted friends have launched a new website named LEMON, which has newer manuals. It also contains all the CHARM manuals.

LEMON is the spiritual successor to CHARM, I recommend you try it!

Link: lemon-manuals.la or lemon-manuals.org.ua

(Some people have issue connecting. LEMON is investigating. For now, use Firefox or change your DNS server)

Or, hide this message: temporarily or permanently

Emission Control Systems: Diagrams




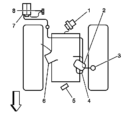
Emission Hose Routing Diagram




1 - Fuel Pressure Regulator
2 - EVAP Canister Purge Solenoid
3 - PCV Valve
4 - EVAP Canister Purge Hose
5 - Manifold Absolute Pressure (MAP) Sensor
6 - Throttle Body Assembly (TAC System)
7 - EVAP Canisters
8 - EVAP Canister Vent