Operation CHARM: Car repair manuals for everyone.
Manuals through 2025 now available!

Our trusted friends have launched a new website named LEMON, which has newer manuals. It also contains all the CHARM manuals.

LEMON is the spiritual successor to CHARM, I recommend you try it!

Link: lemon-manuals.la or lemon-manuals.org.ua

(Some people have issue connecting. LEMON is investigating. For now, use Firefox or change your DNS server)

Or, hide this message: temporarily or permanently

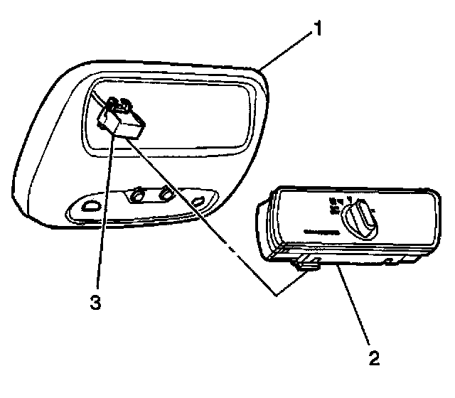
Rear Overhead Control A/C Only

REMOVAL PROCEDURE




1. Separate the front of the console (1) from the headliner.
2. Remove the control assembly (2) by releasing the tabs at the rear of the control.
3. Disconnect the electrical connector (3).

INSTALLATION PROCEDURE




1. Connect the electrical connector (3).
2. Install the control assembly (2) to the console.
3. Install the console (1) to the headliner.