Operation CHARM: Car repair manuals for everyone.
Manuals through 2025 now available!

Our trusted friends have launched a new website named LEMON, which has newer manuals. It also contains all the CHARM manuals.

LEMON is the spiritual successor to CHARM, I recommend you try it!

Link: lemon-manuals.la or lemon-manuals.org.ua

(Some people have issue connecting. LEMON is investigating. For now, use Firefox or change your DNS server)

Or, hide this message: temporarily or permanently

Distributor Overhaul

DISASSEMBLY PROCEDURE

NOTE: The OBD II ignition system distributor driven gear and rotor may be installed in multiple positions. In order to avoid mistakes, mark the distributor on the following components in order to ensure the same mounting position upon reassembly:
^ The distributor driven gear
^ The distributor shaft
^ The rotor holes

Installing the driven gear 180 degrees out of alignment, or locating the rotor in the wrong holes, will cause a no-start condition. Premature engine wear or damage may result.






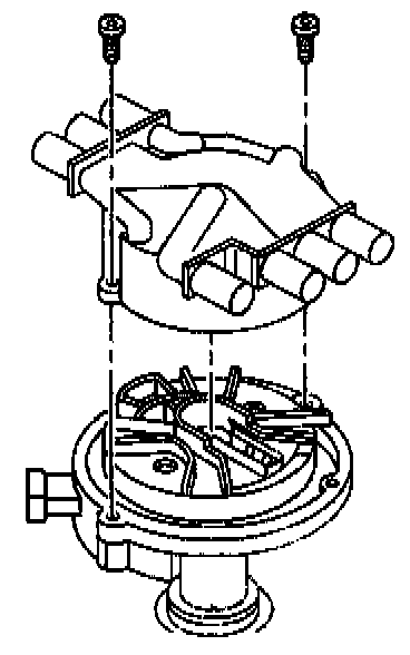
1. Remove the two screws that hold the distributor cap to the housing.
2. Discard the screws.
3. Remove the distributor cap from the housing.






4. Align white paint mark on the bottom stem of the distributor, and the pre-drilled indent hole in the bottom of the gear (3).
5. With the gear in this position, the rotor segment should be positioned as shown for a V6 engine (1) or V8 engine (2) If not, replace the distributor.






6. Remove the two screws from the rotor.
7. Remove the rotor.






8. Note the locating holes that the rotor was removed from:
^ The rotor screw holes (1)
^ The rotor locator pin holes (2)






9. Remove the two screws that hold the Camshaft Position (CMP) sensor.
10. Discard the screws.






11. Line up the square-cut hole in the vane wheel with the CMP sensor.






12. Remove the CMP sensor.
13. Note the dimple located below the roll pin hole on one side of the gear. The dimple will be used to properly orient the gear onto the shaft during reassembly.

CAUTION: Refer to Safety Glasses Caution in Service Precautions.






14. Support the distributor drive gear in a V-block or similar fixture.
15. Drive out the roll pin with a suitable punch.






16. Remove the driven gear from the distributor shaft.
17. Remove the round washer.
18. Remove the tang washer.
19. Remove the round washer (1), if equipped, 7.4L engine only.






20. Remove the old oil seal.

ASSEMBLY PROCEDURE






1. Line up the square-cut hole in the vane wheel for the Camshaft Position (CMP) sensor.






2. Insert the sensor into the housing.

NOTE: Refer to Fastener Notice in Service Precautions.






3. Install two NEW screws for the Camshaft Position (CMP) sensor.

Tighten
Tighten the screws to 2.2 N.m (20 lb in).






4. Identify the correct rotor mounting position:
^ At the rotor screw holes (1)
^ At the rotor locator pin holes (2)






5. Install the distributor rotor according to the index marks.
6. Install two rotor hold down screws.

Tighten
Tighten the screws to 1.9 N.m (17 lb in).

NOTE: The OBD II ignition system distributor driven gear and rotor may be installed in multiple positions. In order to avoid mistakes, mark the distributor on the following components in order to ensure the same mounting position upon reassembly:
^ The distributor driven gear
^ The distributor shaft
^ The rotor holes

Installing the driven gear 180 degrees out of alignment, or locating the rotor in the wrong holes, will cause a no-start condition. Premature engine wear or damage may result.






7. Install the round washer (1), 7.4L engine only.
8. Install the tang washer over the bottom of the distributor shaft.
9. Install the round washer.
10. Install the driven gear according to the index marks.






11. Align the rotor segment as shown for a V6 engine (1) or V8 engine (2).
12. Install the gear and align white paint mark on the bottom stem of the distributor, and the pre-drilled indent hole in the bottom of the gear (3).
13. Check to see If the driven gear is installed incorrectly, the dimple will be approximately 180 degrees opposite the rotor segment when it is installed in the distributor.

CAUTION: Refer to Safety Glasses Caution in Service Precautions.






14. Support the distributor drive gear in a V-block or similar fixture.
15. Install the roll pin with a suitable punch and hammer in order to hold the driven gear in the correct position.






16. Install the distributor cap.
17. Install two NEW distributor cap screws.

Tighten
Tighten the screws to 2.4 N.m (21 lb in).






18. Install the new oil seal under the mounting flange of the distributor base.