Operation CHARM: Car repair manuals for everyone.
Manuals through 2025 now available!

Our trusted friends have launched a new website named LEMON, which has newer manuals. It also contains all the CHARM manuals.

LEMON is the spiritual successor to CHARM, I recommend you try it!

Link: lemon-manuals.la or lemon-manuals.org.ua

(Some people have issue connecting. LEMON is investigating. For now, use Firefox or change your DNS server)

Or, hide this message: temporarily or permanently

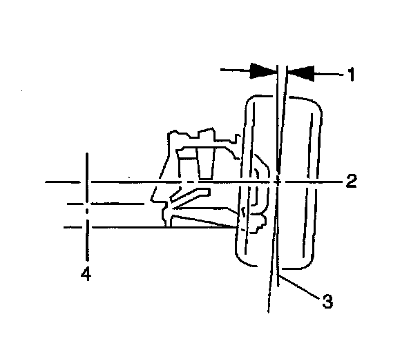
Camber Description





Camber is the tilting of the front tires and wheels (1) from the vertical (2) as viewed from the front of the vehicle. When the tires and wheels tilt outward (1) at the top, the camber is positive (+). When the tires and wheels tilt inward at the top, the camber is negative (-). The amount of the tilt is measured in degrees from the vertical and is called the camber angle. The camber setting influences directional control and tire wear.





When set to a positive camber angle (1), the tires and the wheels will tend to roll in a path that is away from the true path of the vehicle. The effect of one tire and wheel tends to cancel the others. The suspension geometry and the camber setting keep the tire tread surface perpendicular (flat) on the road through the full range of suspension travel.