Operation CHARM: Car repair manuals for everyone.
Manuals through 2025 now available!

Our trusted friends have launched a new website named LEMON, which has newer manuals. It also contains all the CHARM manuals.

LEMON is the spiritual successor to CHARM, I recommend you try it!

Link: lemon-manuals.la or lemon-manuals.org.ua

(Some people have issue connecting. LEMON is investigating. For now, use Firefox or change your DNS server)

Or, hide this message: temporarily or permanently

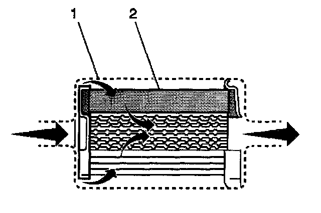
Fuel Filter: Description and Operation




The fuel feed pipe has a steel fuel filter installed ahead of the fuel injection system. The paper filter element (2) traps particles in the fuel that may damage the injection system. The filter housing (1) is made to withstand maximum fuel system pressure, exposure to fuel additives, and changes in temperature. The fuel filter has a quick-connect inlet fitting and a threaded outlet fitting. The threaded fitting is sealed with an O-ring. There is no service interval for fuel filter replacement. Replace a restricted fuel filter.