Operation CHARM: Car repair manuals for everyone.
Manuals through 2025 now available!

Our trusted friends have launched a new website named LEMON, which has newer manuals. It also contains all the CHARM manuals.

LEMON is the spiritual successor to CHARM, I recommend you try it!

Link: lemon-manuals.la or lemon-manuals.org.ua

(Some people have issue connecting. LEMON is investigating. For now, use Firefox or change your DNS server)

Or, hide this message: temporarily or permanently

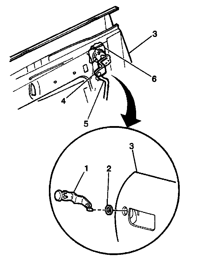
Lock Replacement - Door




REMOVAL PROCEDURE
1. Raise window.
2. Remove front side door trim panel.
3. Remove water deflector as needed.
4. Remove lock cylinder rod (5) from lock cylinder pawl clip (4).
5. Remove the lock cylinder retainer (2) using a screwdriver to slide the retainer upward.
6. Remove door lock cylinder (1) from door (3).
7. Remove lock cylinder gasket (2) from door (3).

INSTALLATION PROCEDURE
1. Install new lock cylinder gasket (2) to door (3).
2. Install door lock cylinder (1) from door (3).
3. Install the lock cylinder retainer (2) by using a screwdriver to slide the retainer downward into place.
4. Install lock cylinder rod (5) to lock cylinder pawl clip (4).
5. Install water deflector as needed.
6. Install front side door trim panel.
7. Lower window.