Operation CHARM: Car repair manuals for everyone.
Manuals through 2025 now available!

Our trusted friends have launched a new website named LEMON, which has newer manuals. It also contains all the CHARM manuals.

LEMON is the spiritual successor to CHARM, I recommend you try it!

Link: lemon-manuals.la or lemon-manuals.org.ua

(Some people have issue connecting. LEMON is investigating. For now, use Firefox or change your DNS server)

Or, hide this message: temporarily or permanently

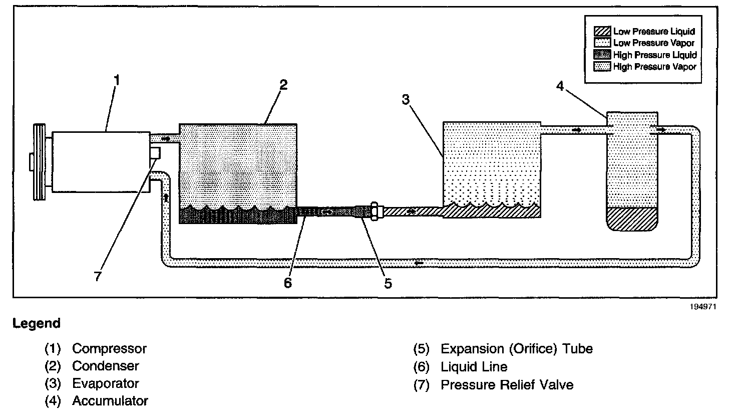
VDOT Refrigeration System

VDOT Refrigeration System:




The Variable Displacement Orifice Tube (VDOT) system is comprised of the following components:
^ A variable displacement compressor (1)
^ A fixed expansion tube (5)

This system matches the air conditioning demands under all modes without cycling. The basic compressor mechanism is a variable angle wobble-plate with five cylinders. The five cylinders are oriented around a common axis. The center of control of the compressor displacement is the control valve. The control valve is actuated by a bellows. The control valve is located in the rear head of the compressor (1) that senses compressor suction pressure. The crankcase-suction pressure differential controls the following conditions:
^ The wobble-plate angle
^ The compressor displacement

When the A/C capacity demand is high, the suction pressure will be above the control point. The valve performs the following functions:
^ Maintains a bleed discharge gas into the crankcase
^ Closes off a passage from the crankcase to the suction plenum

The angle of the wobble-plate is controlled by a force balance on the five pistons. A slight elevation of the crankcase suction pressure differential creates a total force on the pistons. The force on the pistons produces a movement about the wobble-plate pivot pin that reduces the plate angle.