Operation CHARM: Car repair manuals for everyone.
Manuals through 2025 now available!

Our trusted friends have launched a new website named LEMON, which has newer manuals. It also contains all the CHARM manuals.

LEMON is the spiritual successor to CHARM, I recommend you try it!

Link: lemon-manuals.la or lemon-manuals.org.ua

(Some people have issue connecting. LEMON is investigating. For now, use Firefox or change your DNS server)

Or, hide this message: temporarily or permanently

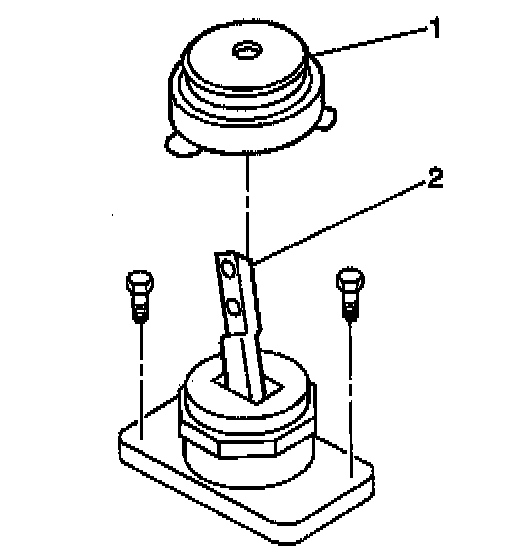
Shift Control Boot Replacement

Removal Procedure





1. Remove the shift control closeout boot.
2. Remove the control lever boot (1) from the control lever (2).


Installation Procedure





1. Install the control lever boot (1) to the control lever (2).
2. Install the shift control closeout boot.