Operation CHARM: Car repair manuals for everyone.
Manuals through 2025 now available!

Our trusted friends have launched a new website named LEMON, which has newer manuals. It also contains all the CHARM manuals.

LEMON is the spiritual successor to CHARM, I recommend you try it!

Link: lemon-manuals.la or lemon-manuals.org.ua

(Some people have issue connecting. LEMON is investigating. For now, use Firefox or change your DNS server)

Or, hide this message: temporarily or permanently

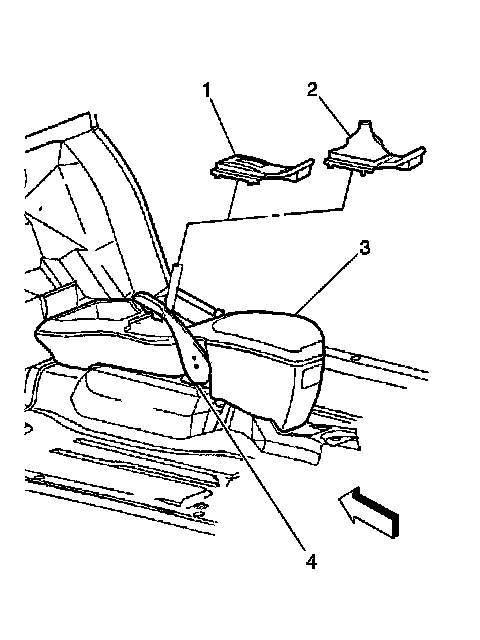
Console Trim Plate Replacement



Console Trim Plate Replacement

Removal Procedure




1. Gently pry upward on one of the following components in order to disengage the retainers:
For automatic transmission, the console trim plate (1) and disconnect the lighted shift indictor connector.
2. For manual transmission, the shift lever boot (2).

Installation Procedure




1. Align the retainers.
2. Press one of the following components into place:

* For manual transmission, the shift lever boot (2).
* For automatic transmission, the shift indicator connector, the console trim plate (1).