Operation CHARM: Car repair manuals for everyone.
Manuals through 2025 now available!

Our trusted friends have launched a new website named LEMON, which has newer manuals. It also contains all the CHARM manuals.

LEMON is the spiritual successor to CHARM, I recommend you try it!

Link: lemon-manuals.la or lemon-manuals.org.ua

(Some people have issue connecting. LEMON is investigating. For now, use Firefox or change your DNS server)

Or, hide this message: temporarily or permanently

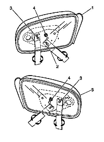
Outside Rearview Mirror Glass Replacement



Outside Rearview Mirror Glass Replacement

Removal Procedure

Tools Required

J 38778 Door Trim Pad Remover

1. Insert the J 38778 (or equivalent) between the mirror and the backing plate.




2. Remove the mirror from the backing plate.

* For the left mirror (1), twist the J 38778 counterclockwise.
* For the right mirror (5), twist the J 38778 clockwise.

Installation Procedure




1. Rotate the jack screw keys (2,3) in order to ensure that the keys face the center pivot (4).
2. Press the mirror glass assembly at the lower jack screw (2) in order to snap the mirror (1) into position.
3. Press the mirror glass assembly at the outer jack screw (3) in order to snap the mirror (5) into position.