Operation CHARM: Car repair manuals for everyone.
Manuals through 2025 now available!

Our trusted friends have launched a new website named LEMON, which has newer manuals. It also contains all the CHARM manuals.

LEMON is the spiritual successor to CHARM, I recommend you try it!

Link: lemon-manuals.la or lemon-manuals.org.ua

(Some people have issue connecting. LEMON is investigating. For now, use Firefox or change your DNS server)

Or, hide this message: temporarily or permanently

Procedures

REMOVAL PROCEDURE




1. Unlatch the folding top. Refer to Power Folding Top Operation.
2. Lower the folding top. Refer to Power Folding Top Operation.

CAUTION: Refer to Battery Disconnect Caution In Service Precautions.

3. Disconnect the negative battery cable.
4. Remove the windshield garnish molding.
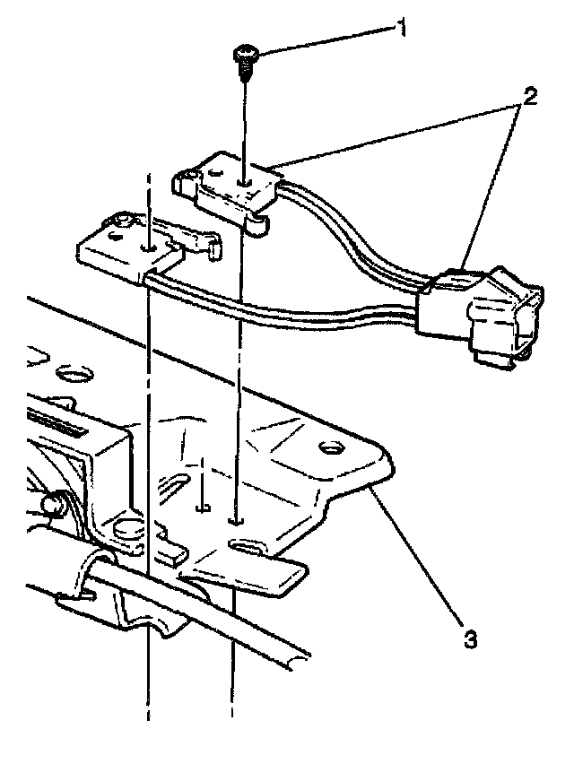
5. Remove the screws (6) and washer (9) which retain the receiver pin (8) to the header latch handle assembly rod.
6. Retain the bushing in the receiver pin (8).




7. Disconnect the electrical connector (2) on the header latch handle assembly.
8. Remove the header latch handle assembly retaining screws from the windshield header:
9. Remove the header latch handle assembly from the vehicle (3).




10. Remove the screws (5) which retain the power folding top switch.
11. Remove the power folding top switch.

INSTALLATION PROCEDURE




1. Install the power folding top switch.

NOTE: Refer to Fastener Notice in Service Precautions.

2. Install the power folding top switch retaining screws (5).

Tighten
Tighten the screws to 25 N.m (18 lb ft).

3. Use the screws in order to install the header latch handle assembly (6) to the windshield.

Tighten
Tighten the screws to 25 N.m (18 lb ft).

4. Connect the electrical connector on the header latch handle assembly.
5. Install the header latch pin (8) and the right and left positions on the header latch handle assembly rod.
6. Install the retaining screws.

Tighten
Tighten the screws to 6 N.m (53 lb in).

7. Install the windshield garnish molding (2).
8. Connect the negative battery cable.
9. Raise the folding top. Refer to Power Folding Top Operation.
10. Latch the folding top. Refer to Power Folding Top Operation.