Operation CHARM: Car repair manuals for everyone.
Manuals through 2025 now available!

Our trusted friends have launched a new website named LEMON, which has newer manuals. It also contains all the CHARM manuals.

LEMON is the spiritual successor to CHARM, I recommend you try it!

Link: lemon-manuals.la or lemon-manuals.org.ua

(Some people have issue connecting. LEMON is investigating. For now, use Firefox or change your DNS server)

Or, hide this message: temporarily or permanently

A/C Coupler O-ring: Service and Repair

REMOVAL PROCEDURE




1. Recover the refrigerant. Refer to Refrigerant Recovery and Recharging.
2. For compression-style fittings: use a back-up wrench on the A/C refrigerant component (smaller size) fitting (2), then loosen the A/C refrigerant hose (larger size) fitting (1).
3. For banjo-style fittings; remove the bolt or the nut retaining the A/C refrigerant hose to the A/C refrigerant component.

IMPORTANT: Cap or tape the open A/C refrigerant hose and the A/C refrigerant component immediately.

4. Disconnect the A/C refrigerant hose from the A/C refrigerant component, discard the O-Ring seal and cap or tape the A/C refrigerant hose and the A/C refrigerant component to prevent contamination.

INSTALLATION PROCEDURE




1. Remove the cap or tape from the A/C refrigerant hose and the A/C refrigerant component.
2. Using a lint-free clean, dry cloth, carefully clean the sealing surfaces of the A/C refrigerant hose and the A/C refrigerant component.
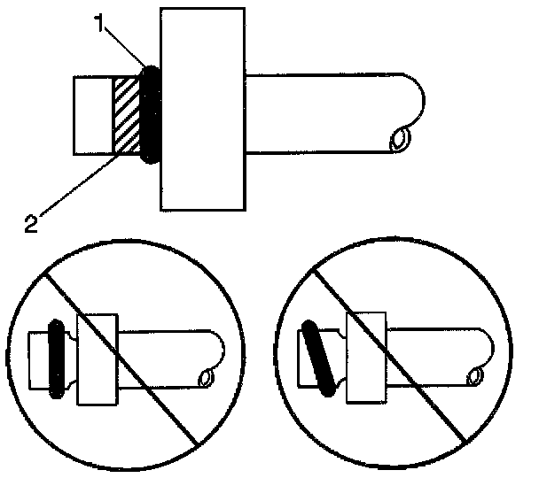
3. Lightly coat the new O-Ring seal (1) with mineral base 525 viscosity refrigerant oil.

IMPORTANT: DO NOT allow any of the mineral base 525 viscosity refrigerant oil on the new O-Ring seal to enter the refrigerant system.

4. For compression-style fittings; carefully slide the new O-Ring seal (1) onto the A/C refrigerant hose until seated.




5. For banjo-style fittings; carefully slide the new
O-Ring seal (1) onto the A/C refrigerant hose until seated.
Leave a light coating of the refrigerant oil on the A/C refrigerant hose in the area indicated (2) ONLY.




6. Install the A/C refrigerant hose to the A/C refrigerant component.
7. For compression-style fittings; use a back-up wrench on the A/C refrigerant component (smaller size) fitting (2), then tighten the A/C refrigerant hose (larger size) fitting (1) to specification.
8. For banjo-style fittings; install the bolt or the nut retaining the A/C refrigerant hose to the A/C refrigerant component, then tighten to specification.
9. Evacuate and charge the refrigerant system. Refer to Refrigerant Recovery and Recharging.
10. Test the A/C refrigerant hose(s) to the A/C component(s) connections for leaks. Refer to Leak Testing.