Operation CHARM: Car repair manuals for everyone.
Manuals through 2025 now available!

Our trusted friends have launched a new website named LEMON, which has newer manuals. It also contains all the CHARM manuals.

LEMON is the spiritual successor to CHARM, I recommend you try it!

Link: lemon-manuals.la or lemon-manuals.org.ua

(Some people have issue connecting. LEMON is investigating. For now, use Firefox or change your DNS server)

Or, hide this message: temporarily or permanently

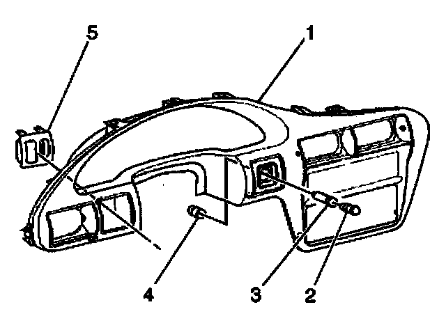
Cigarette Lighter: Service and Repair




REMOVAL PROCEDURE

CAUTION: Refer to SIR Handling Caution in Service Precautions

1. Remove the cluster trim plate.
2. Disconnect the electrical connector.
3. Remove the base from the retainer (4).
4. Turn the base counterclockwise.
5. Remove the lighter housing (3) from the trim plate (1).

INSTALLATION PROCEDURE
1. Install the lighter housing (3) to the trim plate (1).
2. Install the base to the retainer (4).
3. Connect the electrical connector.
4. Install the instrument panel cluster trim plate.