Operation CHARM: Car repair manuals for everyone.
Manuals through 2025 now available!

Our trusted friends have launched a new website named LEMON, which has newer manuals. It also contains all the CHARM manuals.

LEMON is the spiritual successor to CHARM, I recommend you try it!

Link: lemon-manuals.la or lemon-manuals.org.ua

(Some people have issue connecting. LEMON is investigating. For now, use Firefox or change your DNS server)

Or, hide this message: temporarily or permanently

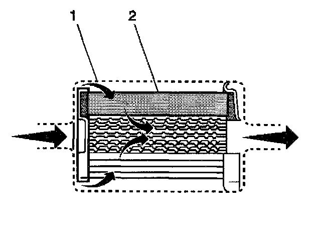
Fuel Filter: Description and Operation




A stainless steel in-line fuel filter is used in the fuel feed line ahead of the fuel injection system. The steel filter housing (1) is constructed to withstand maximum fuel system pressure, exposure to fuel additives, and changes in temperature. The filter element (2) is made of paper, and is designed to trap particles in the fuel that may damage the injection system. A quick-connect type fitting is used at one end and an O-ring where the fuel pipe screws into the fuel filter body on the other end.