Operation CHARM: Car repair manuals for everyone.
Manuals through 2025 now available!

Our trusted friends have launched a new website named LEMON, which has newer manuals. It also contains all the CHARM manuals.

LEMON is the spiritual successor to CHARM, I recommend you try it!

Link: lemon-manuals.la or lemon-manuals.org.ua

(Some people have issue connecting. LEMON is investigating. For now, use Firefox or change your DNS server)

Or, hide this message: temporarily or permanently

Rear Door Window Glass: Service and Repair



Rear Side Door Window Replacement

Removal Procedure

1. Place the door window assembly to the down position.
2. Remove the door trim panel.
3. Remove enough of the door water deflector in order to access the door window assembly nuts.




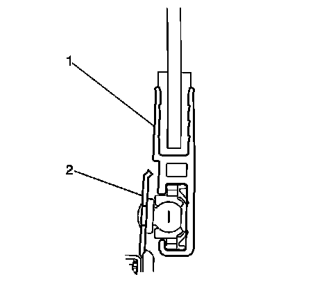
4. Disengage the glass sash regulator (2) from the rear side door window (1).
5. Remove the door window frame applique.




6. Remove the rear side door window (1).

Installation Procedure




1. Install the rear side door window (1).




2. Engage the glass sash regulator (2) to the rear side door window (1).
3. Install the door window frame applique.
4. Install the door water deflector.
5. Install the door trim panel.