Operation CHARM: Car repair manuals for everyone.
Manuals through 2025 now available!

Our trusted friends have launched a new website named LEMON, which has newer manuals. It also contains all the CHARM manuals.

LEMON is the spiritual successor to CHARM, I recommend you try it!

Link: lemon-manuals.la or lemon-manuals.org.ua

(Some people have issue connecting. LEMON is investigating. For now, use Firefox or change your DNS server)

Or, hide this message: temporarily or permanently

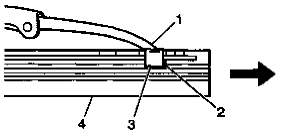
Wiper Blade Element Replacement

REMOVAL PROCEDURE




1. Remove the wiper blade from the wiper arm.
2. The wiper blade element (4) has two notches at one end which are engaged by the bottom claw set (3) of the wiper blade (1). At the notched end of the wiper blade (2), pull the blade element from the wiper blade (1).

INSTALLATION PROCEDURE




Replacement blade elements (2) have three plastic caps (1) which retain the two metal flexor strips. Do not remove these caps (1) before the element is installed.

IMPORTANT: The heel end of the wiper blade is the end nearest to the base of the wiper arm.




1. Starting at the heel end of the wiper blade slide the wiper blade element, notched end last, into the wiper blade claw sets (1). The plastic retainer caps will be forced off as the element is fully inserted.




2. Be certain that the two element notches are engaged by the last claw set and that all the other claws (2) and (3) and properly engaged in the slots of the element (1) on both sides.
3. Install the wiper blade onto the wiper arm.