Operation CHARM: Car repair manuals for everyone.
Manuals through 2025 now available!

Our trusted friends have launched a new website named LEMON, which has newer manuals. It also contains all the CHARM manuals.

LEMON is the spiritual successor to CHARM, I recommend you try it!

Link: lemon-manuals.la or lemon-manuals.org.ua

(Some people have issue connecting. LEMON is investigating. For now, use Firefox or change your DNS server)

Or, hide this message: temporarily or permanently

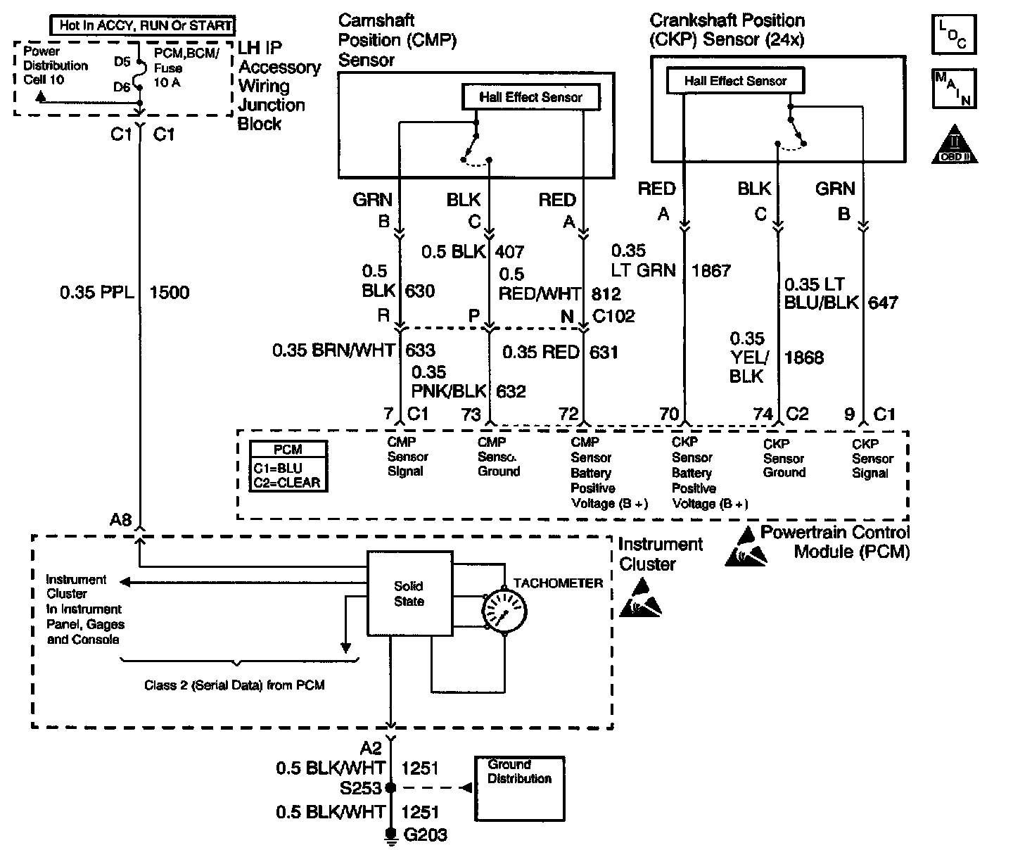
PCM Controlled Tachometer Diagnosis

Diagnostic Chart:




Schematic:




CIRCUIT DESCRIPTION
The PCM controls the pulse frequency in relationship to engine RPM, and sends the information Class II to the instrument cluster.

DIAGNOSTIC AIDS
Refer to A Diagnostic System Check - Instrument Cluster for additional diagnostic information. Testing and Inspection

Inspect for the following conditions:

IMPORTANT: Remove any debris from the connector surfaces before servicing a component. Inspect the connector gaskets when diagnosing or replacing a component. Ensure that the gaskets are installed correctly. The gaskets prevent contaminate intrusion.

^ Poor terminal connection - Inspect the harness connectors for backed out terminals, improper mating, broken locks, improperly formed or damaged terminals, and faulty terminal to wire connection. Use a corresponding mating terminal to test for proper tension.
^ Damaged harness - Inspect the wiring harness for damage. If the harness inspection does not reveal a problem, observe the display on the scan tool while moving connectors and wiring harnesses related to the sensor. A change in the scan tool display may indicate the location of the fault.
^ PCM and engine grounds for clean and secure connections

If the DTC is determined to be intermittent, reviewing the Failure Records can be useful in determining when the DTC was last set.