Operation CHARM: Car repair manuals for everyone.
Manuals through 2025 now available!

Our trusted friends have launched a new website named LEMON, which has newer manuals. It also contains all the CHARM manuals.

LEMON is the spiritual successor to CHARM, I recommend you try it!

Link: lemon-manuals.la or lemon-manuals.org.ua

(Some people have issue connecting. LEMON is investigating. For now, use Firefox or change your DNS server)

Or, hide this message: temporarily or permanently

Transmission Position Sensor/Switch: Description and Operation




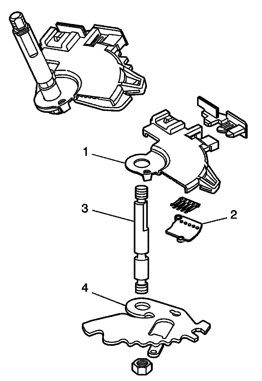
Lever Assembly-Manual Shaft Detent with Internal Mode Switch






The lever assembly-manual shaft detent with internal mode switch (IMS) is a sliding contact electrical switch assembly that corresponds to the PRNDL position selected. Each of the PRNDL positions has a unique ground pattern on four wires from the PCM.

The assembly consists of two major components:

^ The internal mode switch that consists of:
- The housing (1), which makes up the stationary contacts.
- The insulator (2), which makes up the moving contacts and is secured on the detent lever (4).

^ The lever assembly which consists of:
- The manual shaft (3)
- The detent lever (4)

The range detection is accomplished by securing the moving contacts to the detent lever. When the driver selects a PRNDL position, the detent lever inside the transmission rotates. This rotates the insulator which in turn grounds the four wires in a unique pattern for each gear selection, corresponding to the PRNDL position selected. The IMS is electrically connected by five wires (four of which the PCM supplies voltage to and one wire that is a common ground) to the transmission

PRNDL DISPLAY

The IPC displays the selected gear position as determined by the PCM. The IPC receives a class 2 message from the PCM indicating the gear position. The PRNDL display blanks if:

^ The PCM detects a malfunction in the transmission range switch circuit.
^ The IPC detects a loss of class 2 communications with the PCM.