Operation CHARM: Car repair manuals for everyone.
Manuals through 2025 now available!

Our trusted friends have launched a new website named LEMON, which has newer manuals. It also contains all the CHARM manuals.

LEMON is the spiritual successor to CHARM, I recommend you try it!

Link: lemon-manuals.la or lemon-manuals.org.ua

(Some people have issue connecting. LEMON is investigating. For now, use Firefox or change your DNS server)

Or, hide this message: temporarily or permanently

Disassembly

Disassembly Procedure





1. Remove the turn signal cancel cam assembly. Refer to Turn Signal Cancel Cam and Upper Bearing Inner Race - Disassemble under Steering Column Service and Repair.
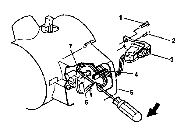
2. Remove the housing cover endcap (1) from the lock housing cover and sleeve assembly (2) following these steps:
2.1. Push the top and the bottom edges of the housing cover end cap (1) out of the slots in the lock housing cover and sleeve assembly (2).
2.2. Tip the housing cover end cap (1) away from the lock housing cover and sleeve assembly (2).
2.3. Remove the housing cover end cap (1).





3. Remove the round washer head screw (1) from the pivot and pulse dimmer switch assembly (3).
4. Remove the flat head screw (2) from the pivot and pulse dimmer switch assembly (3).
5. If removal of the pivot and pulse dimmer switch assembly (3) is not needed then let the switch hang freely.
6. Remove the pivot and pulse dimmer switch assembly (3) from the lock housing cover and sleeve assembly (5) following these steps:

Important: Use care to not damage the wires as they are pulled through the lock housing cover and sleeve assembly.

6.1. Remove the pivot and pulse dimmer switch connector from the bulkhead connector.
6.2. Remove the dimmer switch component from the lock housing cover and sleeve assembly (5).
6.3. Pry open the upper wing (7) and the lower wing (6) of the switch body using a screwdriver.
6.4. Remove the wire harness clamp (4) from the tab inside the lock housing cover and sleeve assembly (5).
6.5. Attach mechanics wire to the pivot and pulse dimmer switch connector for reassembly.
6.6. Pull the pivot and pulse dimmer switch from the lock housing cover and sleeve assembly (5).