Operation CHARM: Car repair manuals for everyone.
Manuals through 2025 now available!

Our trusted friends have launched a new website named LEMON, which has newer manuals. It also contains all the CHARM manuals.

LEMON is the spiritual successor to CHARM, I recommend you try it!

Link: lemon-manuals.la or lemon-manuals.org.ua

(Some people have issue connecting. LEMON is investigating. For now, use Firefox or change your DNS server)

Or, hide this message: temporarily or permanently

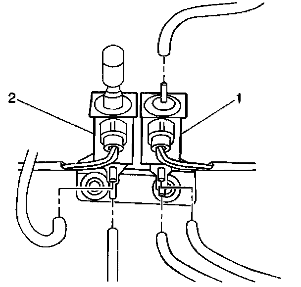
EGR Control Solenoid: Service and Repair

REMOVAL PROCEDURE

IMPORTANT: The Exhaust Gas Recirculation (EGR) solenoid vacuum valve and the EGR bypass valve are serviced as a unit.




1. Disconnect the two vacuum hoses from the EGR solenoid vacuum valve (2).
2. Disconnect the three vacuum hoses from the EGR bypass valve (1).




3. Disconnect the electrical connector from the EGR solenoid vacuum valve (2).
4. Disconnect the electrical connector from the EGR bypass valve (1).




5. Remove the two screws from the bracket securing the two EGR vacuum solenoids.
6. Remove the EGR vacuum solenoids.

INSTALLATION PROCEDURE




1. Install the EGR vacuum solenoids to the bracket and secure with the two screws.




2. Connect the EGR solenoid vacuum valve electrical connector (2).
3. Connect the EGR bypass valve electrical connector (1).




4. Connect the two vacuum hoses to the EGR solenoid vacuum valve (2).
5. Connect the three vacuum hoses to the EGR bypass valve (1).