Operation CHARM: Car repair manuals for everyone.
Manuals through 2025 now available!

Our trusted friends have launched a new website named LEMON, which has newer manuals. It also contains all the CHARM manuals.

LEMON is the spiritual successor to CHARM, I recommend you try it!

Link: lemon-manuals.la or lemon-manuals.org.ua

(Some people have issue connecting. LEMON is investigating. For now, use Firefox or change your DNS server)

Or, hide this message: temporarily or permanently

Drive Belt: Service and Repair

Drive Belt Inspection





1. Inspect the drive belt for cracks in the belt ribs. If you find cracks, decide if the cracks are serious enough to impair the belt's performance. Replace the belt if the performance is seriously impaired. If any sections of the belt ribs are missing, replace the belt. Refer to the applicable drive belt removal and to the installation procedure below.
2. Inspect the belt for the proper alignment on the pulleys.





3. If the drive belt is incorrectly aligned, align the drive belt. Refer to the applicable installation procedure below.
4. Inspect the drive belt tension. Refer to the applicable installation procedure below.

Power Steering Pump and Compressor Drive Belt Removal Procedure
1. Raise and support the vehicle. Refer to Vehicle Lifting.
2. Remove the right front tire and wheel assembly. Refer to Tire and Wheel Removal and Installation in Steering and Suspension.
3. Remove 6 push clips and the right front lower splash shield.





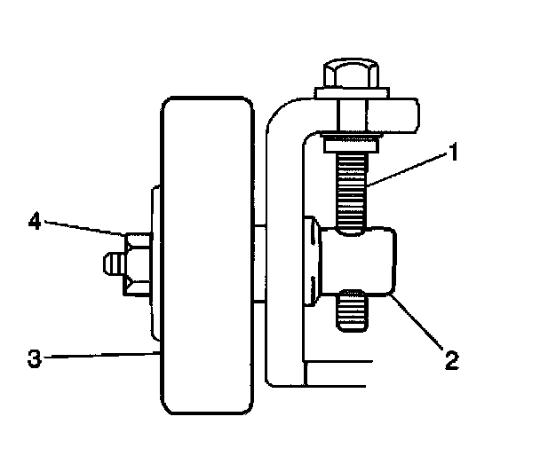
4. Loosen the tension pulley retaining nut (4) and the tension bolt (1).
5. Remove the power steering and the compressor drive belt (7) from the pulleys.

Power Steering Pump and Compressor Drive Belt Installation Procedure





1. Properly route and install the power steering pump and the compressor drive belt (7) on the power steering pump pulley (1) (if equipped), the compressor pulley (2), the tension pulley (3), and the crankshaft pulley (4).





2. Align the drive belt on the pulleys.





3. Use thumb pressure in order to inspect the compressor drive belt tension.





4. Turn the tension bolt (1) in order to adjust the drive belt tension to the specifications.

Notice: Refer to Fastener Notice in Service Precautions.

5. Secure the tension pulley lock nut (4).
Tighten the lock nut to 45 Nm (33 ft. lbs.).
6. Install the right front lower splash shield. Secure the splash shield with 6 push clips.
7. Install the right front tire and wheel assembly. Refer to Tire and Wheel Removal and Installation in Steering and Suspension.
8. Lower the vehicle.

Generator Drive Belt Removal Procedure

Caution: Refer to Battery Disconnect Caution in Service Precautions.

1. Disconnect the negative battery cable.
2. Remove the power steering pump and the compressor drive belt. Refer to Power Steering Pump and Compressor Drive Belt Removal Procedure above.
3. Loosen the upper adjuster bolt of the generator drive belt.
4. Loosen the lower mounting bolt of the generator drive belt.





5. Pivot the generator, and remove the accessory drive belt (1).

Generator Drive Belt Installation Procedure





1. Correctly route and install the generator drive belt on the pulleys.
2. Adjust the drive belt tension in order to obtain a 6 - 8 mm (0.24 - 0.31 inch) deflection with 10 kg (22 lbs.) of pressure exerted on a used belt. Alternatively, adjust the drive belt tension in order to obtain a 5 - 7 mm (0.20 - 0.27 inch) deflection with 10 kg (22 lbs.) of pressure exerted on a new belt.
Tighten the adjuster bolt for the generator drive belt and the mounting bolt to 23 Nm (17 ft. lbs.)
3. Install the power steering and the compressor drive belt. Refer to Power Steering Pump and Compressor Drive Belt Installation Procedure above.
4. Connect the negative battery cable.
Tighten the battery cable bolt to 15 Nm (11 ft. lbs.)