Operation CHARM: Car repair manuals for everyone.
Manuals through 2025 now available!

Our trusted friends have launched a new website named LEMON, which has newer manuals. It also contains all the CHARM manuals.

LEMON is the spiritual successor to CHARM, I recommend you try it!

Link: lemon-manuals.la or lemon-manuals.org.ua

(Some people have issue connecting. LEMON is investigating. For now, use Firefox or change your DNS server)

Or, hide this message: temporarily or permanently

Positive: Service and Repair

REMOVAL PROCEDURE

CAUTION: Refer to Battery Disconnect Caution in Service Precautions.




1. Disconnect the negative battery cable.
2. Remove the positive battery cable from the battery.
3. Remove the positive battery cable (5) from the bottom of the fuse and relay box (1).
4. Remove the positive battery cable from the generator.




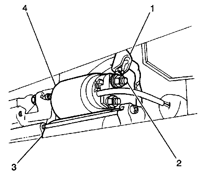
5. Remove the nut and the cable (2) from the starter solenoid.
6. Remove the cable from the harness hold down, and remove the cable.

INSTALLATION PROCEDURE




1. Position the positive battery cable (1) into the vehicle.

NOTE: Refer to Fastener Notice in Service Precautions.

2. Connect the cable to the starter solenoid (2). Secure the cable with a nut.

Tighten
Tighten the nut that retains the positive battery cable to the starter solenoid to 7 N.m (62 lb in).




3. Connect the positive battery cable to the generator.
4. Connect the cable (5) to the fuse and relay box.
5. Route the cable and secure the cable with the harness hold downs.
6. Connect the negative battery cable.