Operation CHARM: Car repair manuals for everyone.
Manuals through 2025 now available!

Our trusted friends have launched a new website named LEMON, which has newer manuals. It also contains all the CHARM manuals.

LEMON is the spiritual successor to CHARM, I recommend you try it!

Link: lemon-manuals.la or lemon-manuals.org.ua

(Some people have issue connecting. LEMON is investigating. For now, use Firefox or change your DNS server)

Or, hide this message: temporarily or permanently

Generator Overhaul

REMOVAL PROCEDURE

TOOLS REQUIRED
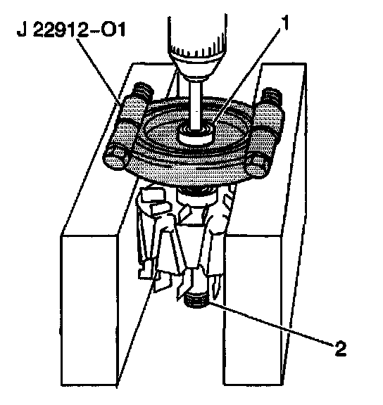
J 22912-O1 Bearing Puller




1. Remove the generator from the vehicle.
2. Scribe matchmarks (3) on the front (4) and on the rear housing (2) in order to ensure proper assembly.




3. Remove the four generator housing bolts (1, 3) from the front housing.




4. Using a flat-bladed tool, gently pry off the front housing (7) with the rotor from the rear housing (2) with the stator coil (1).

NOTE: To prevent damage to the rotor, place clean shop cloths between the rotor and the vise.

5. Place the front housing and the rotor into a vise. The drive pulley end faces up.
6. Remove the nut that retains the drive pulley.
7. Remove the drive pulley washer and the drive pulley from the rotor.
8. Remove the front housing and the rotor from the vise.
9. Remove the rotor and the spacer from the front housing.




10. Remove four screws (1, 3), the front bearing retainer, and the front bearing from the front housing.




11. Remove the rear bearing (1) from the rotor using a J 22912-O1 and a press.




12. Remove the nut (2) that retains the battery terminal from the rear housing.




13. Remove 4 screws (2) and the stator (3) from the rear housing.
14. Remove the rectifier from the rear housing.
15. Remove the regulator and the brush holder from the rear housing.
16. Remove the brush holder from the regulator.




17. Remove the brushes from the regulator (1).
17.1. Remove the brush lead wire cover (4).
17.2. Using a soldering iron, heat and disconnect the brush lead wires (2) from the regulator terminals (3).
17.3. Remove the brushes and the brush springs from the regulator.

MEASURING PROCEDURE

TOOLS REQUIRED
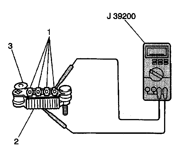
^ J 39200 Digital Multimeter
^ J 26900-5 Vernier Caliper




1. Measure the resistance between the rotor slip rings (2) using J 39200. If the resistance is greater than 3.5 ohms, replace the rotor (1).




2. Measure the resistance between the rotor slip ring (2) and the rotor (1) using J 39200. If the resistance is less than 5 ohms, replace the rotor.




3. Measure the resistance between all stator leads (1) using J 39200. If the resistance is greater than 5 ohms for any measurement, replace the stator (2).




4. Measure the resistance between all stator leads (1) and the stator core using J 39200. If the resistance is less than 5 ohms, replace the stator (2).




5. Measure the length of each brush (3) using J 26900-5. If the brush length is less than the minimum, replace the brush.

Standard Brush Length
16 mm (0.63 in)

Minimum Brush Length
2 mm (0.08 in)




6. Measure the resistance between the rectifier upper body (2) and each diode lead (1) using J 39200. Reverse the probes. Measure the resistance again. The resistance should be less than 5 ohms in one measurement and greater than 5 ohms in the other measurement. If the measurements are not correct, replace the rectifier (3).




7. Measure the resistance between the rectifier lower body (2) and each diode lead (1) using the J 39200. Reverse the probes. Measure the resistance again. The resistance should be less than 5 ohms in one measurement and greater than 5 ohms in the other measurement. If the measurements are not correct, replace the rectifier (3).




8. Measure the resistance between both leads of each rectifier diode trio (1) using the J 39200. Reverse the probes. Measure the resistance again. The resistance should be less than 5 ohms in one measurement and greater than 5 ohms in the other measurement. If the measurements are not correct, replace the rectifier (2).




9. Measure the capacity of the condenser (2) using a digital capacitor meter. If the condenser capacity is not 0.5 microfarads, replace the rectifier (1).
10. Inspect the rotor slip rings for roughness and for scoring. If the slip rings are rough or scored, replace the rotor.

INSTALLATION PROCEDURE




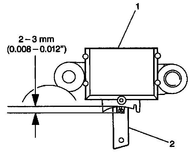
1. Connect the brushes (2) to the regulator (1).
2. Install the brush springs and the brushes to the regulator so that the label on each brush is 2-3 mm (0.008-0.012 in) from the rectifier.




3. Solder the brush lead wires (2) to the regulator terminals (3).
4. Install the brush lead wire cover (4).
5. Connect the brush holder to the regulator (1).
6. Install the regulator and the brush holder to the rear housing.




7. Remove the hole plug from the rear housing.
8. Support the brushes with a wire inserted through the hole in the rear housing (2).




9. Install the rectifier to the rear housing (1).
10. Install the stator (3) to the rear housing. Secure the stator with the four retaining screws (2).

NOTE: Refer to Fastener Notice in Service Precautions.




11. Install the nut (2) that retains the battery terminal to the rear housing.

Tighten
Tighten the nut to 10 N.m (89 lb in).

12. Install the rear bearing to the rotor.




13. Install the front bearing and the front bearing retainer to the front housing. Secure the front bearing retainer with 4 screws (1 ,3).




14. Install the rotor with the spacer to the front housing.

NOTE: To prevent damage to the rotor, place clean shop cloths between the rotor and the vise.

15. Place the front housing and the rotor into a vise. The drive pulley end faces up.
16. Install the drive pulley and the drive pulley washer to the rotor. Secure the pulley with the nut.

Tighten
Tighten the nut to 65 N.m (48 lb ft).

17. Remove the front housing and the rotor from the vise.
18. Using a heat gun, heat the rear housing to 50-60°C (122-140°F).
19. Install the front housing (4), the drive pulley, and the rotor to the stator coil (5) and to the rear housing (6). Align the generator housing match marks. Secure the generator housing with the 4 bolts.

Tighten
Tighten the generator housing bolts to 30 N.m (22 lb ft).

20. Remove the brush support wire, and install the hole plug into the rear housing.
21. Ensure that the rotor rotates smoothly by turning the drive pulley.
22. Install the generator to the vehicle.