Operation CHARM: Car repair manuals for everyone.
Manuals through 2025 now available!

Our trusted friends have launched a new website named LEMON, which has newer manuals. It also contains all the CHARM manuals.

LEMON is the spiritual successor to CHARM, I recommend you try it!

Link: lemon-manuals.la or lemon-manuals.org.ua

(Some people have issue connecting. LEMON is investigating. For now, use Firefox or change your DNS server)

Or, hide this message: temporarily or permanently

Cruise Control Switch Replacement

REMOVAL PROCEDURE

TOOLS REQUIRED
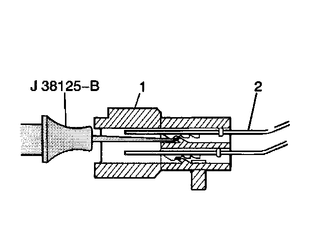
J 38125-B Terminal Repair Kit.




1. Remove the steering wheel inflatable restraint module.
2. Disconnect the cruise control switch electrical connector (1) from the steering wheel inflatable restraint module coil.
3. Open the Terminal Position Assurance (TPA) on the top of the cruise control switch electrical connector with a terminal remover from the J 38125-B.




4. Remove the red/blue wire (2) from the cruise control switch electrical connector (1) with a terminal remover from the J 38125-B.




5. Using a alien head socket remove the right horn contact bolts.
6. Remove the right horn contact (2) from the steering wheel.
7. Remove the following components from the vehicle:
^ The 3 cruise control switch screws (4)
^ The cruise control switch (3)

INSTALLATION PROCEDURE




1. Install the cruise control switch (3) to the vehicle. Secure the switch with the 3 screws (4).

NOTE: Refer to Fastener Notice in Cautions and Notices.

2. Install the right horn contact (2) to the steering wheel. Secure the contact with the 2 allen head bolts.

Tighten
Tighten the horn contact bolts to 8.8 N.m (78 lb in).




3. Install the red/blue wire (2) to the cruise control switch electrical connector (1).




4. Close the TPA on the top of the cruise control switch electrical connector.
5. Connect the cruise control switch electrical connector (1) to the steering wheel inflatable restraint module coil.
6. Install the steering wheel inflatable restraint module.