Operation CHARM: Car repair manuals for everyone.
Manuals through 2025 now available!

Our trusted friends have launched a new website named LEMON, which has newer manuals. It also contains all the CHARM manuals.

LEMON is the spiritual successor to CHARM, I recommend you try it!

Link: lemon-manuals.la or lemon-manuals.org.ua

(Some people have issue connecting. LEMON is investigating. For now, use Firefox or change your DNS server)

Or, hide this message: temporarily or permanently

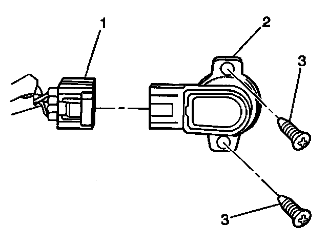
Throttle Position Sensor: Service and Repair




REMOVAL PROCEDURE

NOTE: The TP sensor is an electrical component. Do not soak the TP sensor in any liquid cleaner or solvent as damage may result.

1. Remove the throttle body.
2. Remove the 2 fasteners (3) from the Throttle Position (TP) sensor (2).
3. Remove the TP sensor (2) from the throttle body.

INSTALLATION PROCEDURE

1. Install the TP sensor (2) to the throttle body.

NOTE: Refer to Fastener Notice in Service and Precautions.

2. Secure the TP sensor with the 2 hold down fasteners (3).

Tighten
Tighten the fasteners to 3.5 N.m (30 lb in).

3. Install the throttle body to the intake manifold.