Operation CHARM: Car repair manuals for everyone.
Manuals through 2025 now available!

Our trusted friends have launched a new website named LEMON, which has newer manuals. It also contains all the CHARM manuals.

LEMON is the spiritual successor to CHARM, I recommend you try it!

Link: lemon-manuals.la or lemon-manuals.org.ua

(Some people have issue connecting. LEMON is investigating. For now, use Firefox or change your DNS server)

Or, hide this message: temporarily or permanently

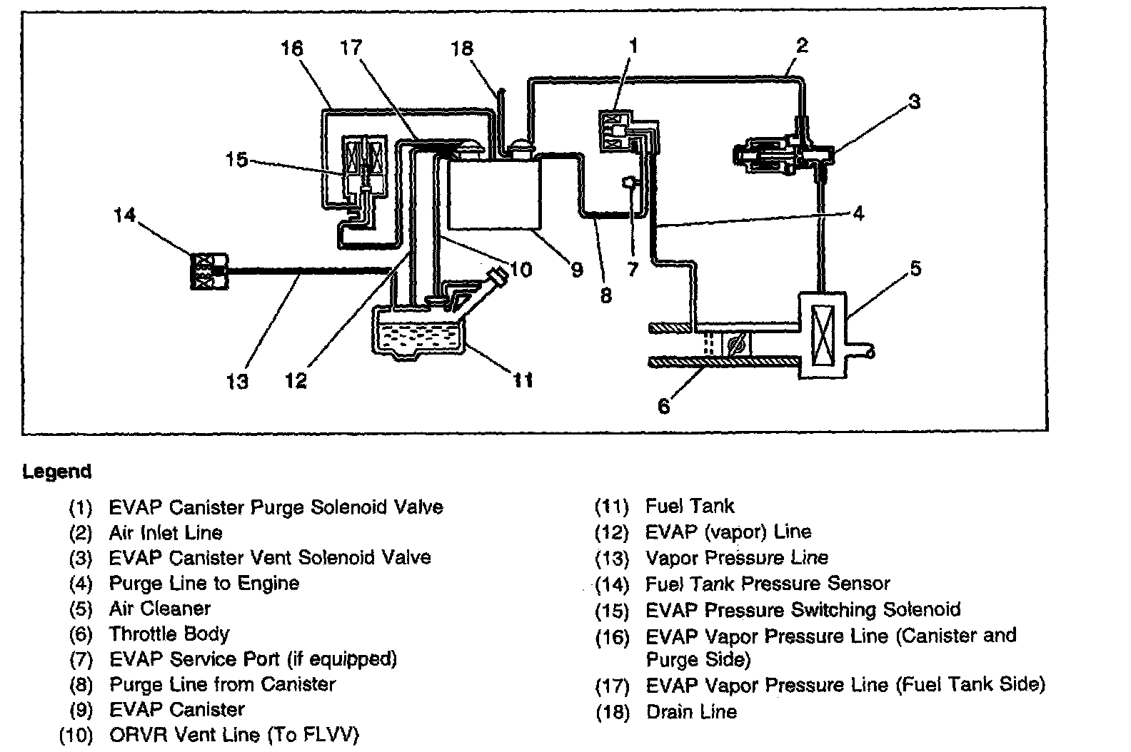
EVAP Control System Operation

EVAP Control System Operation Description:




The Evaporative Emission ([1][2]EVAP) control system limits fuel vapor emissions to the atmosphere.The EVAP system transfers the fuel vapor from a sealed fuel tank to an EVAP canister containing activated carbon.The EVAP canister stores the fuel vapors until the engine is able to use the vapors.

The EVAP canister is located at the rear of the vehicle next to the fuel tank.The EVAP canister is larger than in previous years.The larger canister and the relocation to near the fuel tank was necessary for integration with the vehicle's On-Board Refueling Vapor Recovery (ORVR) system.