Operation CHARM: Car repair manuals for everyone.
Manuals through 2025 now available!

Our trusted friends have launched a new website named LEMON, which has newer manuals. It also contains all the CHARM manuals.

LEMON is the spiritual successor to CHARM, I recommend you try it!

Link: lemon-manuals.la or lemon-manuals.org.ua

(Some people have issue connecting. LEMON is investigating. For now, use Firefox or change your DNS server)

Or, hide this message: temporarily or permanently

Ride/Trim Height Specifications

Trim Height Inspection Procedure
Incorrect trim heights can cause bottoming out over bumps. Incorrect trim heights can cause possible damage to the suspension components and symptoms similar to those produced when there is a problem with the wheel alignment. Check the trim heights when diagnosing suspension complaints and before checking the wheel alignment.
Perform the following steps before measuring the trim height:
1. Ensure that the fuel level is a minimum 1/8 of a full tank.
2. Ensure that the correct size tires are on the vehicle.
3. Set the tire pressures to the pressure shown on the tire placard. The tire placard is located on the I/P compartment door.
4. Ensure the vehicle is on a level surface, such as an alignment rack.
5. Close the doors.
6. Close the hood.
7. Close the liftgate.

Important: All trim height measurement are taken vertical to the ground. Trim height measurement within 10 mm (0.4 inch) are considered correct.

Measuring the Front Trim Height





1. Use your hands in order to lift the front bumper of the vehicle up approximately 38 mm (1.5 inch). Gently remove your hands in order to allow the vehicle to lower.
2. Use your hands in order to push the front bumper of the vehicle down approximately 38 mm (1.5 inch). Remove your hands in order to allow the vehicle to rise.
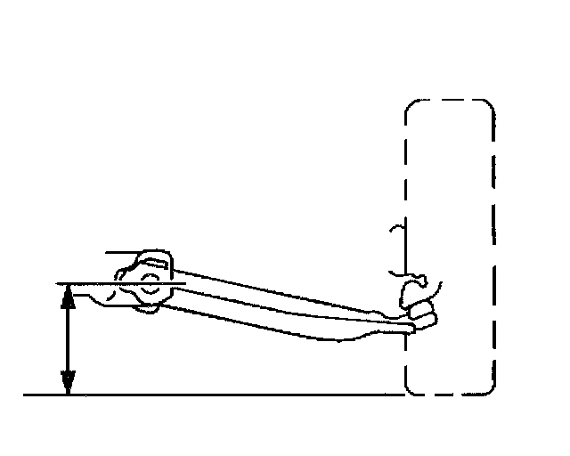
3. Measure from the ground to the center of the front lower control arm mounting bolt.
Measure the dimension for the left side and the right side of the vehicle.
If the vehicle is equipped with P175/65R14 tires, the front trim height is 185 mm (7.28 inch).
If the vehicle is equipped with P185/65R14 tires, the front trim height is 190 mm (7.48 inch).
4. Replace the front strut components, as necessary, to correct the front trim height. Refer to Strut, Strut Component and/or Spring Replacement.

Measuring the Rear Trim Height





1. Use your hands in order to lift the rear bumper of the vehicle up approximately 38 mm (1.5 inch). Gently remove your hands in order to allow the vehicle to lower.
2. Use your hands in order to push the rear bumper of the vehicle down approximately 38 mm (1.5 inch). Remove your hands in order to allow the vehicle to rise.
3. Measure from the ground to the center of the trailing arm bolt.
Measure the dimension for the left side and the right side of the vehicle.
If the vehicle is equipped with P175/65R14 tires, the rear trim height is 245 mm (9.65 inch).
If the vehicle is equipped with P185/65R14 tires, the rear trim height is 250 mm (9.84 inch).
4. Replace the rear strut components, as necessary, to correct the rear trim height. Refer to Strut Disassemble/Assemble Repair.