Operation CHARM: Car repair manuals for everyone.
Manuals through 2025 now available!

Our trusted friends have launched a new website named LEMON, which has newer manuals. It also contains all the CHARM manuals.

LEMON is the spiritual successor to CHARM, I recommend you try it!

Link: lemon-manuals.la or lemon-manuals.org.ua

(Some people have issue connecting. LEMON is investigating. For now, use Firefox or change your DNS server)

Or, hide this message: temporarily or permanently

Expansion Valve: Service and Repair

THERMAL EXPANSION VALVE REPLACEMENT

REMOVAL PROCEDURE




1. Discharge and recover the refrigerant. Refer to Refrigerant Recovery and Recharging. Service and Repair
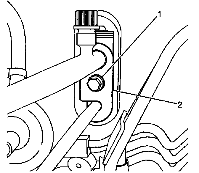
2. Remove the bolt (1) from the expansion valve.
3. Slide the plate (2) counterclockwise and remove the evaporator inlet and outlet tubes from the expansion valve.




4. Remove the 2 bolts from the expansion valve.
5. Remove the expansion valve from the evaporator.
6. Remove and discard the O-rings.

INSTALLATION PROCEDURE




1. Install new O-rings coated with mineral base 525 viscosity refrigerant oil to the evaporator.
2. Install the expansion valve to the evaporator.
3. Install the 2 bolts to the expansion valve.




4. Install the evaporator inlet and outlet tubes to the expansion valve.

NOTE: Refer to Fastener Notice in Service Precautions.

5. Slide the plate (2) clockwise and install the bolt.

Tighten
Tighten the bolt to 35 N.m (26 lb ft).

6. Evacuate and recharge the refrigerant. Refer to Refrigerant Recovery and Recharging. Service and Repair
7. Operate the A/C system. Inspect for refrigerant leaks. Refer to Leak Testing. Leak Testing