Operation CHARM: Car repair manuals for everyone.
Manuals through 2025 now available!

Our trusted friends have launched a new website named LEMON, which has newer manuals. It also contains all the CHARM manuals.

LEMON is the spiritual successor to CHARM, I recommend you try it!

Link: lemon-manuals.la or lemon-manuals.org.ua

(Some people have issue connecting. LEMON is investigating. For now, use Firefox or change your DNS server)

Or, hide this message: temporarily or permanently

Drive Belt: Service and Repair

DRIVE BELT INSPECTION





1. Inspect the drive belt for cracks, cuts, wear and damage. Replace the belt if any cracks, cuts, wear or damage exist.
2. If any sections of the belt ribs are missing, replace the belt.
3. Inspect the belt for proper alignment on the pulleys.





4. If the drive belt is improperly aligned, align the drive belt.

POWER STEERING PUMP DRIVE BELT

Removal Procedure
1. Loosen the power steering pump mounting bolts.
2. Pivot the power steering pump towards the engine in order to relieve the tension on the belt.





3. Remove the power steering pump drive belt (1) from the pulleys.

Installation Procedure





1. Properly route and install the power steering pump drive belt (1) on the power steering pump and the crankshaft pulleys.

Notice: Refer to Fastener Notice in Service Precautions.

2. Adjust the power steering pump drive belt to obtain 6 - 9 mm (0.24 - 0.35 inch) deflection.
^ Tighten the power steering pump mounting bolts to 30 Nm (22 ft. lbs.).

A/C COMPRESSOR DRIVE BELT

Removal Procedure
1. Loosen the A/C compressor mounting bolts.
2. Pivot the A/C compressor towards the engine in order to relieve the tension on the belt.





3. Remove the A/C compressor drive belt (1) from the pulleys.

Installation Procedure





1. Properly route and install the A/C compressor drive belt (1) on the A/C compressor, the power steering (if equipped), and the crankshaft pulleys.
2. Adjust the A/C compressor drive belt to obtain 6 - 9 mm (0.24 - 0.35 inch) deflection.
^ Tighten the A/C compressor mounting bolts to 18 - 28 Nm (13 - 20 ft. lbs.).

GENERATOR DRIVE BELT

Removal Procedure





1. Remove the power steering pump and the AJC compressor drive belt.
2. Loosen the generator mounting bolts.
3. Pivot the generator towards the engine and remove the accessory drive belt.

Installation Procedure
1. Properly route and install the generator drive belt on the pulleys.
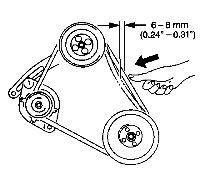
2. Adjust the drive belt tension to obtain the specified deflection.
Used Belt Deflection 6 - 8 mm (0.20 - 0.31 inch)
New Belt Deflection 5 - 7 mm (0.20 - 0.27 inch)





3. Tighten the generator mounting bolts.
^ Tighten the generator mounting bolts to 23 Nm (17 ft. lbs.).
4. Install the power steering and the A/C compressor drive belt.