Operation CHARM: Car repair manuals for everyone.
Manuals through 2025 now available!

Our trusted friends have launched a new website named LEMON, which has newer manuals. It also contains all the CHARM manuals.

LEMON is the spiritual successor to CHARM, I recommend you try it!

Link: lemon-manuals.la or lemon-manuals.org.ua

(Some people have issue connecting. LEMON is investigating. For now, use Firefox or change your DNS server)

Or, hide this message: temporarily or permanently

Axle Shaft Replacement

Removal Procedure

^ Tools Required
- J 34866 Rear Axle Shaft Remover
- J 2619-01 Slide Hammer
- J 22912-01 Rear Bearing Remover
- J 6627-A A Wheel Stud Remover





1. Raise the vehicle, Support the vehicle. Refer to Vehicle Lifting.
2. Place a drain pan or suitable container under the rear axle housing.
3. Remove the filler plug (1) from the rear axle housing.
4. Remove the drain plug (2) and drain the oil from the rear axle housing.
5. Remove the rear tire and wheel assembly. Refer to Tire and Wheel Removal and Installation in Steering and Suspension.
6. Remove the brake drum. Refer to Brake Drum Replacement in Brakes and Traction Control.





7. Remove the 4 nuts (4,6) from the rear axle shaft bearing retainer studs.
8. If the vehicle has ABS, disconnect the wheel speed sensor and position the sensor aside.





9. Remove the rear axle shaft (1) and the bearing from the rear axle housing using the J 34866 with the J2619-01.





Important: The right and left rear axle shafts are different lengths.

10. Measure the left rear axle shaft length from the differential end of the shaft to the outside edge of the axle shaft flange.
^ The left rear axle shaft length is 711.5 mm (28.0 inch).





11. Measure the right rear axle shaft length from the differential end of the shaft to the outside edge of the axle shaft flange.
^ The right rear axle shaft length is 757 mm (29.8 inch).





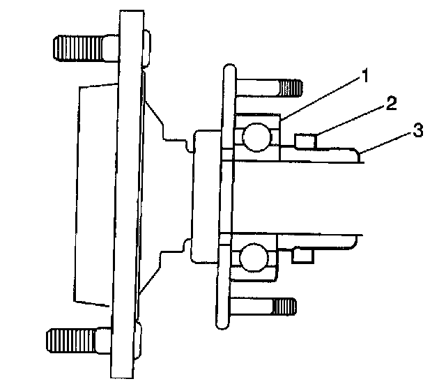
12. Using a hand grinder, flatten the 2 opposite sides of the rear axle shaft bearing retainer ring (1).
13. If equipped with ABS, remove the ABS reluctor wheel (1) from the retainer ring with a grinder as illustrated.





14. Use a hammer and a cold chisel in order to remove the rear axle shaft bearing retainer ring on the axle shaft.
15. If equipped with the ABS, remove the ABS reluctor wheel (1) as illustrated.





16. Use the J 22912-01 and a hydraulic press in order to remove the rear axle shaft bearing (1) from the rear axle shaft. Place the J 22912-01 on the rear axle shaft between the rear axle shaft bearing and the rear axle shaft bearing retainer.
Place the rear axle shaft in a hydraulic press. Slowly press the rear axle shaft bearing off the rear axle shaft.
17. Remove the rear axle shaft bearing retainer from the rear axle shaft.
18. Remove the seal from the retainer.
19. Use the J 6627-A in order to remove the 5 wheel studs from the axle flange.


Installation Procedure

^ Tools Required
- J 22912-01 Rear Bearing Remover





1. Use the J 22912-01 and a hydraulic press in order to install the rear axle shaft bearing (2) onto the rear axle shaft.
With the concave side facing away from the rear axle shaft bearing, place the J 22912-01 on the rear axle shaft below the rear axle shaft bearing. Place the rear axle shaft in a hydraulic press. Slowly press the rear axle shaft bearing to its original position behind the rear axle shaft bearing retainer (1).
2. If the vehicle has ABS, press fit the rear ABS reluctor wheel (2).
3. Use the J 22912-01 and a hydraulic press in order to install the rear axle shaft bearing retainer ring (3) onto the rear axle shaft.
4. With the concave side facing away from the rear axle shaft bearing retainer ring, place the J 22912-01 on the rear axle shaft below the rear axle shaft bearing retainer ring. Place the rear axle shaft in a hydraulic press. Slowly press the rear axle shaft bearing retainer ring past the shaft taper to its original position behind the rear axle shaft bearing (2).
5. Inspect the rear axle shaft inner oil seal for cuts or other damage. Replace the oil seal as necessary. Refer to Inner Drive Axle Seal Replacement.
6. Apply wheel bearing lubricant GM P/N 1051344, or equivalent, to the rear axle inner oil seal lip in the rear axle housing.
7. Apply General Motors Sealer GM P/N 1052366, or equivalent, to the rear axle shaft bearing retainer ring mating surface on the brake backing plate.





8. Align the serrations on the wheel stud (1) with the serrations in the rear axle flange hole.
9. Use a wheel nut (2) and a washer (3) in order to install the wheel stud.
10. Remove the wheel nut and the washer from the wheel stud.





Important: The rear axle shafts are different in lengths.

11. Install the rear axle shaft and bearing into the rear axle housing (2). Ensure the rear axle shaft bearing is firmly seated into the rear axle housing.

Notice: Refer to Fastener Notice Service Precautions.

12. Install the 4 (3) to the, rear axle shaft retainer studs.
^ Tighten the nuts to 23 Nm (17 ft. lbs.).
13. Install the rear brake drum. Refer to Brake Drum Replacement in Brakes and Traction Control.
14. If the vehicle has ABS, install the wheel speed sensor(5).
15. Install the rear tire and wheel assembly. Refer to Tire and Wheel Removal and Installation in Steering and Suspension.





16. Apply Teflon Pipe Sealant GM P/N 12346004, or equivalent, to the threaded portion of the drain plug.
17. Install the drain plug (2) into the rear axle housing.
^ Tighten the rear plug to 25 Nm (18 ft. lbs.).
18. Refill the rear axle housing with approximately 2.2 liters (4.6 pts) of 80W-90 GI-5 lubricant, GM P/N 12345977, or equivalent. The oil level should be even with the bottom of the filler plug hole.
19. Install the rear axle housing oil level/filler plug (1) into the rear axle housing.
^ Tighten the plug to 43 Nm (32 ft. lbs.).
20. Remove the drain pan from under the rear axle housing.
21. Lower the vehicle.