Operation CHARM: Car repair manuals for everyone.
Manuals through 2025 now available!

Our trusted friends have launched a new website named LEMON, which has newer manuals. It also contains all the CHARM manuals.

LEMON is the spiritual successor to CHARM, I recommend you try it!

Link: lemon-manuals.la or lemon-manuals.org.ua

(Some people have issue connecting. LEMON is investigating. For now, use Firefox or change your DNS server)

Or, hide this message: temporarily or permanently

4. Main Shaft Replacement

Removal Procedure

^ Tools Required
^ J 34757Circlip Remover
^ J 22912-01 Split Plate
^ J 26900-7 Dial Caliper

Important: The following components are identical:
^ The main shaft first gear and reverse gear bushings
^ The main shaft first and second gear needle bearings

Make note of the components and their positions during disassembly in order to ensure correct assembly and operation.

1. Use the J 34757 in order to remove the high speed and reverse hub C-clip from the main shaft.





2. Use the J 22912-01 and a press arbor in order to remove the following components from the main shaft:
2.1. The high speed synchronizer rings (2)
2.2. The high speed sleeve and hub assembly (1)
2.3. The mainshaft third gear (3)
2.4. The main shaft third gear needle bearing
3. Remove the high speed synchronizer sleeve from the high speed synchronizer hub.
4. Remove the high speed synchronizer springs and the synchronizer keys from the high speed synchronizer hub.
5. Use the J 34757 in order to remove the following components from the main shaft:
5.1. The two retaining rings
5.2. The speedometer drive gear
6. Use the J 34757 in order to remove the main shaft rear bearing C-clip from the main shaft.

Important: The main shaft fifth gear and reverse gear needle bearings separate into two halves each. Make note of the components and their locations in order to ensure correct assembly and operation.





7. Use the J 22912-01 and a press arbor in order to remove the main shaft rear bearing from the main shaft (1).
8. Remove the following components from the main shaft:
8.1. The fifth gear washer
8.2. The main shaft washer ball
8.3. The main shaft fifth gear
8.4. The high speed synchronizer ring
8.5. The main shaft fifth gear needle bearing
9. Remove the reverse synchronizer sleeve from the reverse synchronizer hub.
10. Remove the following components from the reverse synchronizer hub:
10.1. The reverse synchronizer springs
10.2. The three synchronizer keys
11. Use a J 34757 in order to remove the high speed and reverse hub C-clip from the main shaft.





12. Use the J 22912-01 and a press arbor in order to remove the reverse synchronizer hub (1) from the main shaft (2).
13. Remove the following components from the main shaft:
^ The main shaft reverse gear
^ The needle bearing

Notice: DO NOT remove the main shaft bearing washer, the main shaft reverse gear bushing and the main shaft center bearing in one step. The main shaft washer ball which locks the main shaft bearing washer in place could damage the main shaft or the main shaft center bearing. Remove the main shaft reverse gear bushing first, then, remove the main shaft bearing washer and the main shaft washer ball before removing the bushing main shaft center bearing from the main shaft.

14. Remove the following components from the main shaft:
14.1. The main shaft reverse gear bushing
14.2. The main shaft bearing washer
14.3. The main shaft washer ball
15. Use the J 22912-01 and a press arbor in order to remove the main shaft center bearing from the main shaft.

Notice: DO NOT remove the main shaft bearing washer, the main shaft 1st gear, the main shaft 1st gear needle bearing and the low speed synchronizer ring in one step. The main shaft washer ball which locks the main shaft bearing washer in place could damage the main shaft or the main shaft 1st gear. Remove the main shaft bearing washer and the main shaft washer first, then, remove the main shaft 1st gear, the main shaft 1st gear needle bearing and the low speed synchronizer ring.

16. Remove the following components from the main shaft:
16.1. The main shaft bearing washer
16.2. The main shaft washer ball
17. Remove the following components from the main shaft:
17.1. The main shaft first gear
17.2. The main shaft first gear needle bearing
17.3. The low speed synchronizer ring





18. Use the J 22912-01 and a press arbor in order to remove the following components from the main shaft (4):
18.1. The first gear bushing (1)
18.2. The low speed sleeve and hub assembly (2)
18.3. The low speed synchronizer ring
18.4. The main shaft second gear (3)
19. Remove the main shaft second gear needle bearing from the main shaft.
20. Remove the low speed synchronizer sleeve from the low speed synchronizer hub.
21. Remove the following components from the low speed synchronizer hub:
21.1. The low speed synchronizer springs
21.2. The synchronizer keys
22. Clean all of the main shaft components thoroughly with solvent Air dry the components.





23. Inspect all of the needle bearings for the following conditions and replace as necessary:
^ Unusual wear
^ Damage
24. Inspect all of the ball bearings for the following conditions and replace as necessary:
^ Roughness
^ Wear
25. Inspect the chamfered portion of each synchronizer ring for excessive wear. Replace as necessary.
26. Inspect all of the synchronizer springs and the keys for the following conditions and replace as necessary:
^ Distortion
^ Damage
27. Inspect the main shaft for the following conditions and replace as necessary:
^ Grooves
^ Scoring
^ Unusual wear





28. Use a feeler gage in order to measure the clearance between each synchronizer ring (1) and its respective gear (2). The maximum synchronizer ring clearance is 1.0 to 1.4 mm (0.039 to 0.055 inch). If the synchronizer ring clearance exceeds the specification, replace the synchronizer ring and gear.





29. Use the J 26900-7 in order to measure the key slot width of each synchronizer ring (1). The maximum synchronizer key slot width is 10.1 to 10.4 mm (0.397 to 0.409 inch). If the synchronizer ring key slot width exceeds the specification, replace the synchronizer ring.





30. Use a feeler gage (3) in order to measure the clearance between each gearshift fork (2) and its respective synchronizer sleeve (1). The maximum gearshift fork clearance is 1.0 mm (0.039 inch). If the gearshift fork clearance exceeds specification, replace the gearshift fork and the synchronizer sleeve.

Installation Procedure

^ J37753 Bearing Installer
^ J35664 Bearing Installer
^ J28406 Bearing Installer
^ J22912-01 Split Plate
^ J35425 High Speed Hub Installer
^ J36830 Transjel Transmission Assembly Lubricant





1. Install the following components onto the low speed synchronizer hub (6):
1.1. The low speed synchronizer springs (1,4)
1.2. The synchronizer keys (5)
1.3. The low speed synchronizer sleeve (2)





2. Install the low speed synchronizer sleeve (8) onto the low speed synchronizer hub (7).
3. Apply J 36850 to the main shaft second gear needle bearing.





4. Install the following components onto the main shaft (3):
4.1. The main shaft second gear needle bearing (4)
4.2. The main shaft second gear (1)
4.3. The low speed synchronizer ring (2)





5. Use the J 37753 and a press arbor in order to install the low speed sleeve (3) and hub assembly onto the main shaft (4).





6. Use the J 37753 and a press arbor (1) in order to install the main shaft first gear bushing (2) onto the main shaft.
7. Apply J 36850 to the main shaft first gear needle bearing.
8. Install the following components onto the main shaft:
8.1. The first gear needle bearing
8.2. The low speed synchronizer ring
8.3. The main shaft first gear





9. Install the following components onto the main shaft:
9.1. The main shaft washer ball (1)
9.2. The main shaft bearing washer (3)





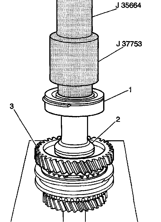
10. Use the J 37753, the J 35664 and a press arbor in order to install the main shaft center bearing (1) onto the main shaft.





11. Connect the reverse synchronizer springs (3, 6) and the three synchronizer keys (4) to the reverse synchronizer hub (5). Ensure that the thick side of the synchronizer keys (7) and the synchronizer sleeve (1) faces toward the main shaft fifth gear.
12. Install the reverse synchronizer sleeve (2) to the reverse synchronizer hub (5).
13. Install the following components to the main shaft:
13.1. The main shaft washer ball
13.2. The main shaft bearing washer





14. Use the J 37753 with the J 35664 in order to install the main shaft reverse gear bushing (1) onto the main shaft. Gently tap in order to install the main shaft reverse gear bushing (1).
15. Apply J 36850 to both halves of the main shaft reverse gear needle bearing.
16. Install the following components onto the main shaft:
16.1. The main shaft reverse gear needle bearing
16.2. The main shaft reverse gear





17. Use the J 37753 and the J 35664 in order to install the reverse sleeve and hub assembly (3) onto the main shaft. Gently tap in order to install the reverse sleeve and hub assembly (3).
18. Install the high speed and reverse hub C-clip onto the main shaft.
19. Apply J 36850 to both halves of the main shaft fifth gear needle bearing.
20. Install the following components onto main shaft:
20.1. The high speed synchronizer ring
20.2. The main shaft fifth gear needle bearing
20.3. The main shaft fifth gear
20.4. The main shaft washer ball
20.5. The main shaft fifth gear washer Ensure that the oil slot in the main shaft fifth gear washer faces the main shaft fifth gear.





21. Use the J 22912-01 in order to support the main shaft. Use the J 28406 and a press arbor in order to install the main shaft rear bearing (3) onto the main shaft.
22. Install the main shaft rear bearing C-clip onto the main shaft.





23. Install the speedometer drive gear (1) onto the main shaft; secure the speedometer drive gear with the speedometer drive gear retaining rings.





24. Install the following components onto the high speed synchronizer hub (6):
24.1. The high speed synchronizer springs (1)
24.2. Three synchronizer keys (5)
25. Install the high speed synchronizer sleeve (2) onto the high speed synchronizer hub (6).
26. Apply the J 36850 to the main shaft third gear needle bearing.





27. Use the J 22912-01 in order to support the main shaft. Use the J 35425 and a press arbor in order to install the following components onto the main shaft:
27.1. The third gear needle bearing
27.2. The main shaft third gear (2)
27.3. The high speed synchronizer rings (1)
27.4. The high speed sleeve and hub assembly (3)
28. Install the high speed and reverse hub C-clip onto the main shaft.