Tail Lamp: Service and Repair
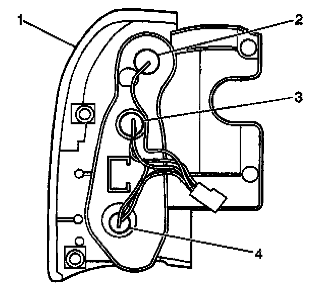
REMOVAL PROCEDURE1. Remove the 2 screws (2) which secure the tail lamp assembly (1).
2. Pull the tail lamp assembly (1) rearward in order to access the tail lamp bulb electrical connector (4).
3. Disconnect the tail lamp bulb electrical connector (4).
4. Remove the tail lamp assembly (1) from the vehicle.
5. Twist the bulb sockets (2,3,4) counterclockwise and remove the sockets from the lamp assembly (1).
6. Remove the lamp bulbs from the bulb sockets (2,3,4), if necessary.
INSTALLATION PROCEDURE
1. Install the lamp bulbs to the bulb sockets (2,3,4), if removed.
2. Install the bulb socket (2,3,4) to the lamp assembly and twist clockwise in order to secure each socket.
3. Connect the tail lamp bulb electrical connector (4).
4. Install the tail lamp assembly (1) to the vehicle. Secure the assembly with the 2 screws (2).