Operation CHARM: Car repair manuals for everyone.
Manuals through 2025 now available!

Our trusted friends have launched a new website named LEMON, which has newer manuals. It also contains all the CHARM manuals.

LEMON is the spiritual successor to CHARM, I recommend you try it!

Link: lemon-manuals.la or lemon-manuals.org.ua

(Some people have issue connecting. LEMON is investigating. For now, use Firefox or change your DNS server)

Or, hide this message: temporarily or permanently

Valve Body: Service and Repair





1. Remove the fluid level indicator.
2. Disconnect the TV cable from the throttle body.
3. Raise the vehicle. Support the vehicle. Refer to Vehicle Lifting.
4. Remove the front propeller shaft. Refer to Propeller Shaft Replacement - Front.
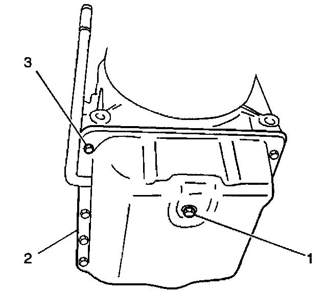
5. Remove the fluid pan bolts (3) the fluid pan and the gasket (2). Refer to Automatic Transmission Fluid/Filter Changing.





6. Disconnect the TV cable (3) from the TV cable cam (2).
7. Remove the electrical connectors from the torque convertor (TCC) solenoid and the shift solenoid assembly.
8. Remove the 1 bolt and the solenoid wiring harness.





9. Remove the valve body filter and gasket.
10. Remove the 14 bolts that attach the valve body (1) to the transmission case.
11. Apply low compressed air slowly to the fluid passages until the air pressure forces the following items out of the case bores:
^ The 2nd brake accumulator
^ The direct clutch accumulator
^ The forward clutch accumulator
12. Inspect the accumulator pistons for the following:
^ Cracks
^ Scarring
^ Damage
13. Inspect the accumulator springs for the following:
^ Weakness
^ Cracks
^ Damage
14. Inspect the piston seals for the following:
^ Cuts
^ Damage
15. Inspect the accumulator case bores for the following:
^ Scars
^ Nicks
^ Pitting
16. For valve body inspection and disassembly. Refer to Valve Body Removal.