Operation CHARM: Car repair manuals for everyone.
Manuals through 2025 now available!

Our trusted friends have launched a new website named LEMON, which has newer manuals. It also contains all the CHARM manuals.

LEMON is the spiritual successor to CHARM, I recommend you try it!

Link: lemon-manuals.la or lemon-manuals.org.ua

(Some people have issue connecting. LEMON is investigating. For now, use Firefox or change your DNS server)

Or, hide this message: temporarily or permanently

Rear Axle Housing Replacement

Removal Procedure

^ Tools Required
- J 26941 Axle Shaft Seal Remover
- J 23907 Slide Hammer
- J 8092 Drive Handle
- J 29039 Axle Shaft Inner Oil Seal Installer





1. Raise the vehicle. Support the vehicle. Refer to Vehicle Lifting.
2. Place a drain pan or suitable container under the rear axle housing.
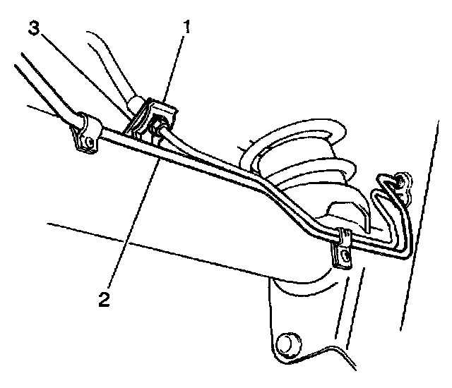
3. Remove the rear axle housing oil level/filler plug (1) from the rear axle housing.
4. Remove the rear axle housing drain plug (2) from the rear axle housing.
5. Drain the rear axle housing.
6. Remove the rear tire and wheel assemblies. Refer to Tire and Wheel Removal and Installation.





7. Remove the rear brake drums from the rear axle. Refer to Brake Drum Replacement.
8. Remove both rear axle shafts from the rear axle housing. Refer to Axle Shaft Replacement.
9. Remove both of the rear axle shaft inner oil seals (1) from the rear axle housing with the J26941 and the J23907.
10. Remove both of the rear axle shaft inner oil seal protectors from the rear axle housing.





Important: To ensure rear propeller shaft balance, an index mark (reference mark) must be placed on the differential pinion flange and the rear propeller. shaft flange so that the rear propeller shaft can be installed in the same position from which it was removed. If this procedure is not followed, a driveline imbalance may result causing vibration, premature component wear or other undesirable characteristics.

11. Remove the following from the vehicle:
^ The 4 bolts
^ The 4 nuts
^ The rear propeller shaft (2)
^ Loosen both rear control arm through bolts and nut.
^ Loosen the rear axle tie rod through bolt and nut.
^ Remove the drain pan from under the rear axle housing.
^ Lower the vehicle so that the rear axle housing may be supported with a hydraulic jack.





12. Support the rear axle housing (1) with a suitable hydraulic floor jack (2).
13. Remove the 4 bolts from the rear control arm ball joint boss. Separate the rear control arm ball joint boss from the differential carrier. Refer to Rear Axle Lower Control Arm Replacement.





14. If the vehicle does not have ABS, remove the bolt (5) in order to separate the load sensing proportioning valve from the rear axle.





15. Remove the 8 nuts (1) and the differential carrier from the rear axle housing.





16. Remove the rear brake fluid pipes (1) from the rear wheel cylinders.
17. Separate both of the brake backing plates (2) from the rear axle housing (3).





18. Remove the 1 clip (1) and the brake fluid hose from the rear axle housing brake fluid hose bracket (3).
19. Disconnect the wheel speed sensor coupler (If ABS equipped).
20. Remove the harness clamp from the chassis frame.





21. Remove the 5 screws from the brake fluid pipe clamps (1).





22. Separate the brake fluid pipes (2) from the rear axle housing.





23. Remove the 1 clamp and the rear axle housing breather hose (1) from the rear axle housing (2).





24. Remove the 2 nuts and the 2 washers, one from each side, from the lower rear shock absorber (9) through bolts (7) at the rear axle housing.
25. Remove the nut and the washer from the rear axle tie rod (4) at the rear axle housing.
26. Remove the 2 nuts and the 2 washers, one from each side, from the lower control arm (5) at the rear axle housing.
27. Remove the 2 nuts, one from each side, from the upper control arms (3) at the rear axle housing.

Caution: To prevent personal injury and(or component damage, use the proper tools to support the lower control arm when removing the coil spring. The coil spring is under extreme pressure and can become a projectile should the spring separate from the lower control arm before all of the tension is relieved.

28. Slowly lower the hydraulic floor jack until the coil spring pressure is relieved.
29. Remove the 2 through bolts (one from each side) (3) and separate the rear shock (2) from the rear axle housing.
30. Remove the 2 through bolts (one from each side) (6) and the separate lower control arms(5) from the rear axle housing.
31. Remove the 2 through bolts, (one from each side), and separate the upper control arms (3) form the rear axle housing.
32. Remove the rear coil springs from the rear axle housing.





33. Remove the rear axle housing (1) from under the vehicle.
34. Clean the rear axle housing thoroughly with solvent and dry.
35. Inspect the rear axle housing mating surfaces and flanges for cracks or other damage.
36. Replace the rear axle housing mating surfaces and flanges as necessary.


Installation Procedure





1. Position the rear axle housing under the vehicle with the hydraulic floor jack.

Caution: To prevent personal injury and/or component damage, make sure the coil spring is properly seated and use the proper tools to install the lower control arm to the vehicle. The coil spring is under extreme pressure and. can become a projectile should the spring separate from the lower control arm before the lower control arm is secured to the vehicle.

Important: When installing the rear coil springs in their spring seats, make sure that the spring end with the stepped portion (landing) is aligned with the stepped portion of the rear axle housing.

2. Install the 2 rear coil springs (1).





3. Install both of the lower control arms (5) to the rear axle housing and insert 2 washers and 2 through bolts (one in each side).
4. Install both of the upper control arms (3) to the rear axle housing and insert the 2 through bolts (one on each side).
5. Install both of the rear shock absorbers to the rear axle housing and insert 2 through bolts (one in each side).
6. Install the rear axle tie rod (4) and insert the washer and the through bolt.





7. Slowly raise the rear axle housing (1) with a hydraulic floor jack (2) until the rear coil springs are positioned in the upper spring seats.





8. Install the rear axle breather hose (1) the rear axle housing (2). Secure the breather hose with the clamp.





9. Install the brake fluid pipes (2) to the rear axle housing.
10. Install the harness clamp to the chassis frame.
11. Install the wheel sensor coupler (If ABS equipped).





12. Install the 5 brake pipe clamps (1) to the rear axle housing.
13. Secure the brake fluid pipes and the clamps with the 5 screws.





14. Install the brake hose to the rear axle housing brake hose bracket (3). Secure with the E-clip (1).





15. Apply the General Motors Sealer GM P/N 1052366, or the equivalent (2), to the rear axle housing brake backing plate flanges (1).





16. Apply RTV silicone gasket and sealer GM P/N 12346240, or equivalent, to the differential carrier mating surface on the rear axle housing (1).





Notice: Refer to Fastener Notice Service Precautions.

17. Install the differential carrier into the rear axle housing. Secure the differential carrier (1) with 8 nuts (2).
^ Tighten the differential carrier nuts to 55 Nm (41 ft. lbs.).
18. Install the rear control arms to the differential carrier.
19. Remove the hydraulic floor jack from under the rear axle housing.





20. Raise and suitably support the vehicle. Refer to Vehicle Lifting.
21. If the vehicle does not have ABS, install the bolt (5) in order to secure the LSPV to the rear axle housing.
^ Tighten the bolt to 23 Nm (17 ft. lbs.).





Important: Use the index (reference) marks made in the removal procedure to ensure correct rear propeller shaft installation.

22. Install the rear propeller shaft (2) into the vehicle. Secure with 4 nuts and bolts.
^ Tighten the rear propeller shaft nuts and bolts to 50 Nm (37 ft. lbs.).
23. Install both of the rear axle shaft inner oil seal protectors into the rear axle housing.





24. Install the new rear axle shaft inner oil seals (1) into the rear axle housing using the J29039 J 8092.
25. Apply wheel bearing lubricant GM P/N 1051344, or the equivalent, to the new seal lip.
26. Install both rear axle shafts into the rear axle housing. Refer to Axle Shaft Replacement.
27. Install the rear brake drums to the rear axle. Refer to Brake Drum Replacement.
28. Install the rear tire and wheel assemblies. Refer to Tire and Wheel Removal and Installation.
29. Bleed the rear brakes. Refer to Hydraulic Brake System Bleeding.
30. Apply GM P/N 12346004, or equivalent, to the threaded portion of the rear axle housing drain plug.





31. Install the rear axle housing drain plug (2) into the rear axle housing.
^ Tighten the rear axle housing drain plug to 25 Nm (18 ft. lbs.).
32. Refill the rear axle housing with approximately 2.2 liters (4.6 pts) of 80W-90 GI-5 lubricant GM P/N 12345977, or equivalent. The oil level should be even with the bottom of the rear axle housing oil level/filler plug hole.
33. Install the rear axle housing oil level/filler plug (1) into the rear axle housing.
^ Tighten the rear axle housing oil level/filler plug to 43 Nm (32 ft. lbs.).
34. Lower the vehicle.
35. Push down on the rear bumper 3 times.





36. Install the nuts to the upper control arm (3).
^ Tighten the bolts and nuts to 90 Nm (66 ft. lbs.).
37. Install the the 2 nuts and the washers (one on each side) to the lower control arm (5).
^ Tighten the bolts and nuts to 90 Nm (66 ft. lbs.).
38. Install the nut to the rear axle tie rod (4).
^ Tighten the bolt and the nut to 90 Nm( 65 ft. lbs.).
39. Install the 2 nuts and the washers to the lower rear shock absorber (9).
^ Tighten the lower rear shock absorber through bolts and nuts to 85 Nm (63 ft. lbs.).