Operation CHARM: Car repair manuals for everyone.
Manuals through 2025 now available!

Our trusted friends have launched a new website named LEMON, which has newer manuals. It also contains all the CHARM manuals.

LEMON is the spiritual successor to CHARM, I recommend you try it!

Link: lemon-manuals.la or lemon-manuals.org.ua

(Some people have issue connecting. LEMON is investigating. For now, use Firefox or change your DNS server)

Or, hide this message: temporarily or permanently

Flex Plate: Service and Repair

Removal Procedure

^ Tools Required
- J8001 Dial Indicator Set
- J26900-13 Magnetic Base
- J35271 Flywheel Holder
1. Remove the transmission assembly.
2. Remove the clutch and pressure plate on manual transmission equipped vehicles.





3. Inspect the ring gear (2). Replace the flywheel if the ring gear is damaged, cracked or worn.
4. Inspect the clutch disc contact surface on manual transmission equipped vehicles. Replace the flywheel if the surface is damaged or excessively worn.
5. Measure the flywheel face runout using a J8001 with a J26900-13. Replace the flywheel if the runout exceeds specifications.
Flywheel Runout 0.2 mm (0.0078 inch)
6. Mark the flywheel-to-engine position.





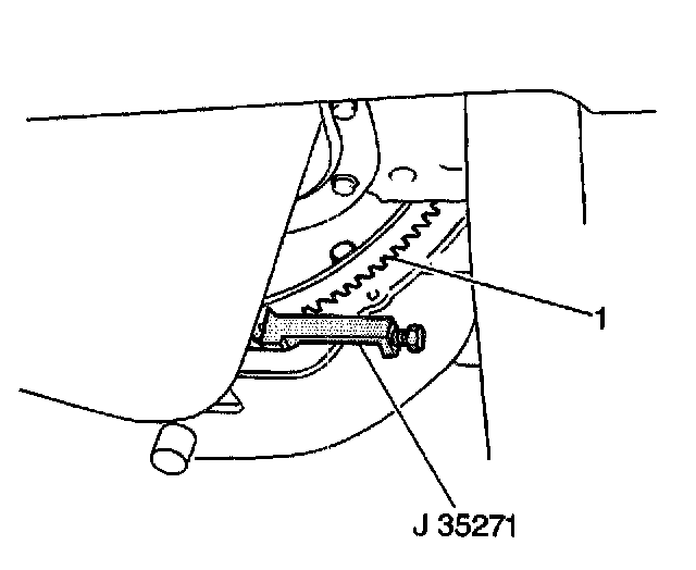
7. Lock the flywheel (1) in place with the J35271.





8. Remove the 8 flywheel retaining bolts.
9. Remove the flywheel from the crankshaft.
10. Inspect the clutch pilot bushing. Replace if necessary. Refer to Pilot Bearing Replacement.
11. Clean the grease and dirt from the flywheel outer surfaces using a suitable solvent.

Installation Procedure





1. Align the flywheel-to-engine marks and install the flywheel (3) to the crankshaft.

Notice: Do not apply an excessive amount of sealant to the flywheel retaining bolt threads. Applying too much sealant will result in the sealant overflowing the bolt seat. This could cause the bolt to break loose during vehicle operation.

2. Apply GM P/N 12345493, or the equivalent, to the flywheel retaining bolt threads.

Notice: Refer to Fastener Notice in Service Precautions.





3. Install the flywheel retaining bolts to the crankshaft. Use the J35271 to lock the flywheel.
^ Cross tighten the 8 flywheel retaining bolts to 70 Nm (51 ft. lbs.).
4. Install the clutch and pressure plate on manual transmission equipped vehicles.
5. Install the transmission assembly.