Operation CHARM: Car repair manuals for everyone.
Manuals through 2025 now available!

Our trusted friends have launched a new website named LEMON, which has newer manuals. It also contains all the CHARM manuals.

LEMON is the spiritual successor to CHARM, I recommend you try it!

Link: lemon-manuals.la or lemon-manuals.org.ua

(Some people have issue connecting. LEMON is investigating. For now, use Firefox or change your DNS server)

Or, hide this message: temporarily or permanently

Differential Case

Installation Procedure

^ Tools Required
- J 3289-20 Holding Fixture Base
- J 3289-21 Holding Fixture
- J 37769 Differential Holding Fixture Adapters
- J 8614-01 Flange Holder
- J 24433 Side Bearing Installer
- J 8107-4 Differential Side Bearing Remover Plug
- J 8092 Driver Handle
- J 25273 Pinion Seal Installer
- J 6133-01 Bearing Race Installer
- J 37758 Pinion Outer Race Installer
- J 37759 Pinion Inner Bearing Race Installer
- J 8001 Dial Indicator Set





1. Install the following into the differential case:
^ The Differential pinion gears (2)
^ The Washers





2. Install the pinion shaft into the differential case.
^ Measure the left differential side gear (1) end play using the J8001. Place the plunger between the teeth of the left side gear and move the left side gear up and down using 2 screw drivers while observing the J 8001. The left side gear end play should measure 12 to 37 mm (0.005 to 0.014 inch). If the left side gear end play is too high or low, replace the side gear selective washer with the appropriate size to obtain correct end play.
^ Measure the right differential side gear (1) end play using the J 8001. Place the plunger on the rear of the right differential side gear and using the finger tips of both hands, gently move the right differential side gear up and down while observing the J 8001. The side gear end play should measure 12 to 37 mm (0.005 to 0.014 inch). If the side gear end play is too high or low, replace the side gear selective washer with the appropriate size to obtain correct end play.





3. Install the pinion shaft roll pin into the differential case (1) and through the pinion shaft (3). The roll pin end should be even with the differential case surface.





Important: After correct end play has been obtained, remove the ring gear bolts (1) and apply GM P/N 12345493, or equivalent, to the threaded portion of each ring gear bolt and install into the differential case.

Notice: Refer to Fastener Notice Service Precautions.

4. Install the ring gear (1) to the differential case. Secure with 10 bolts.
^ Tighten the ring gear bolts to 85 Nm (63 ft. lbs.).





5. Install the actuator (3) to the differential case assembly (2).
6. Install the side bearing (1) on the left side of the differential case (2) assembly using the J 37758 with the J 8092. Place the differential case assembly on a hydraulic press.
Use the J 37758 with the J 8092 in order to place the left differential side bearing on the left differential case with the tapered side up and slowly press the left differential side bearing onto the left differential case.





7. Install the side bearing (1) on the right side of the differential case assembly (2) using the J 24433 with the J 8092 and J 8107-4. Place the differential case assembly on a hydraulic press using the J 8107-4 for support and to protect the left differential side bearing. Use the J24433 with the J 8092 in order to place the right differential side bearing on the right differential case with the tapered side up and slowly press the right differential side bearing onto the right differential case.





8. Install the inner pinion bearing race into the differential carrier (1) using the J 37759 with the J 8092. Place the differential carrier on a hydraulic press and position the inner pinion bearing race over its bore. Use the J 37759 with the J 8092 in order to slowly press the inner pinion bearing race evenly into the differential carrier.





9. Install the outer pinion bearing race into the differential carrier (1) using the J 37758 with the J 8092. Place the differential carrier on a hydraulic press and position the outer pinion bearing race over its bore. Use the J 37758 with the J 8092, to slowly press the outer pinion bearing race evenly into the differential carrier.





10. Install a pinion selective shim (2) onto the pinion gear shaft
11. Install the pinion bearing (1) onto the pinion gear shaft. Use the J 6133-01.
12. Place the pinion gear (3) on a hydraulic press.
13. Install the inner pinion bearing on the pinion gear shift shaft with the tapered side facing away from the pinion gear.
14. Place the J 6133-01 on the pinion gear shaft and slowly press the inner bearing into place.





15. Install a new collapsible spacer (4) onto the pinion gear shaft with the short shank toward the pinion gear.
16. Install the outer pinion bearing (3) and the pinion gear (5) into the differential carrier (2).





17. Install a new pinion oil seal into the differential carrier using the J 25273.
18. Apply wheel bearing lubricant GM P/N 1051344, or equivalent, to the new pinion oil seal lip.





Important: Do not overtighten the pinion flange nut when adjusting the bearing preload. Tighten the pinion flange nut gradually while taking frequent pinion bearing preload measurements with a torque wrench. If overtightening exist the collapsible spacer will crush requiring a new collapsible spacer before pinion bearing preload can be properly adjusted.

19. Adjust the pinion bearing preload using the J 8614-01 to hold the pinion flange stationary while tightening the pinion flange nut.
^ Tighten the nut gradually in increments of 5 Nm (44 inch lbs.).
20. Between each increments of tightening, remove the J 8614-01, rotate the pinion gear 5 revolutions in order to ensure pinion bearing seating and measure pinion bearing preload.
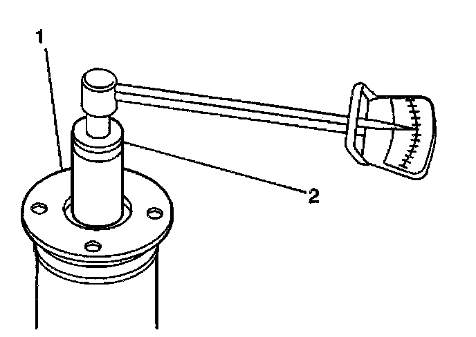
21. Measure the bearing preload using a torque wrench and a 27mm socket (2).
22. The pinion gear should require 1.2 Nm (11 inch lbs.) in order to rotate.
23. If the pinion bearing preload is less than specified, repeat the adjustment procedure until proper pinion bearing preload has been attained.
24. Install the pinion flange nut.





25. Install the side bearing races onto the differential side bearings.
26. Install the differential assembly into the differential carrier.
27. Install both side bearing adjusters (2) on the side bearing races.
28. Install both side bearing caps onto differential carrier, secure with the four side bearing cap bolts.
^ Tighten differential side bearing cap bolts to 15 Nm (11 ft. lbs.).