Operation CHARM: Car repair manuals for everyone.
Manuals through 2025 now available!

Our trusted friends have launched a new website named LEMON, which has newer manuals. It also contains all the CHARM manuals.

LEMON is the spiritual successor to CHARM, I recommend you try it!

Link: lemon-manuals.la or lemon-manuals.org.ua

(Some people have issue connecting. LEMON is investigating. For now, use Firefox or change your DNS server)

Or, hide this message: temporarily or permanently

Heater Core Replacement

REMOVAL PROCEDURE

TOOLS REQUIRED
J 38185 Hose Clamp Pliers




1. Remove the air cleaner cover and duct assembly.
2. Drain the cooling system. Refer to Draining and Filling Cooling System in Cooling System. Service and Repair
3. Disconnect the wiper linkage. Refer to Wiper Motor Crank Arm Replacement in Wiper Washer System. Wiper Motor Crank Arm Replacement
4. Disconnect both of the heater hoses from the heater core using the J 38185.
5. Remove the heater core outlet cover.




6. Remove the screws retaining the heater core cover.
7. Remove the heater core cover.




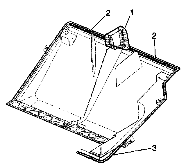
8. Remove and discard the cavity (1), whistle (2), and permagum (3) seals from the heater core cover.




9. Remove and discard the heater core outer seal (5) from the heater core.




10. Remove the heater core retaining clamp screw (1).
11. Remove the heater core retaining clamp.
12. Remove the heater core pipe retainer clamp screw (2).




13. Remove the heater core from the HVAC module.




14. Remove and discard the heater core lower seal (4) from the HVAC module case.




15. Remove and discard the heater core center seal (3) from the HVAC module case.




16. Remove and discard the heater core upper seal (2) from the HVAC module case.




17. Remove the heater core pipe retainer clamp from the heater core pipes.
Using a flat bladed tool, release the retaining tab and open the clamp.

INSTALLATION PROCEDURE




1. Install the heater core pipe retainer clamp to the heater core pipes.
Align the depression in the clamp to the ridge on one of the heater core pipes, then close the clamp to secure.




2. Install new heater cores side seals (1) to the HVAC module case.




3. Install a new heater core upper seal (2) to the HVAC module case.




4. Install a new heater core center seal (3) to the HVAC module case.




5. Install a new heater core lower seal (4) to the HVAC module case.




6. Install the heater core to the HVAC module case.

NOTE: Refer to Fastener Notice in Service Precautions.




7. Install the heater core pipe retaining clamp screw (2).

Tighten
Tighten the screw to 1.6 N.m (14 lb in).

8. Install the heater core retaining clamp.
9. Install the heater core retaining clamp screw (1).

Tighten
Tighten the screw to 1.6 N.m (14 lb in).




10. Install a new heater core outer seal (5) to the heater core.




11. Install a new cavity (1), whistle (2), and permagum (3) seals to the heater core cover.




12. Install the heater core cover.
13. Install the heater core cover retaining the screws.

Tighten
Tighten the screws to 1.6 N.m (14 lb in).

14. Install the heater core outlet cover. Refer to Heater Core Cover Replacement. Heater Case/Cover Replacement




15. Connect both of the heater hoses and the clamps to the heater core using the J 38185 positioning the clamps as indicated.
16. Install the wiper linkage. Refer to Wiper Motor Crank Arm Replacement in Wiper Washer System. Wiper Motor Crank Arm Replacement
17. Refill the coolant.
18. Install the air cleaner cover and duct assembly.