Operation CHARM: Car repair manuals for everyone.
Manuals through 2025 now available!

Our trusted friends have launched a new website named LEMON, which has newer manuals. It also contains all the CHARM manuals.

LEMON is the spiritual successor to CHARM, I recommend you try it!

Link: lemon-manuals.la or lemon-manuals.org.ua

(Some people have issue connecting. LEMON is investigating. For now, use Firefox or change your DNS server)

Or, hide this message: temporarily or permanently

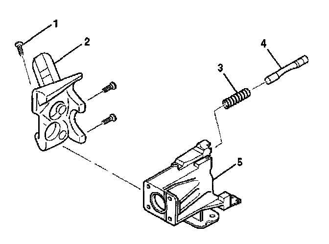
Electronic Column Lock Module - Disassemble





1. Remove the upper head components. Refer to Steering Column Jacket - Disassemble - Off Vehicle.
2. Remove the ignition and key alarm switch assembly only. Refer to Ignition and Key Alarm Switch Assembly - Disassemble - Off Vehicle.
3. Remove the park lock cable assembly (1) from the electronic lock module assembly.
3.1. Place the steering column lock cylinder set into the OFF position.
3.2. Place the shift lever clevis into the PARK position.
3.3. Use a small blade to push against the locking tab on the end of the park lock cable assembly (1).
3.4. Disconnect the park lock cable assembly (1) from the electronic lock module assembly.





Important: The lock bolt assembly (4) is under slight spring tension from the lock bolt spring (3). Hold the lock bolt (4) in place while removing the electronic lock module assembly (2).

4. Remove the 3 pan head tapping screws (1) from the electronic lock module assembly (2).
5. Remove the electronic lock module assembly (2) and the lock bolt assembly (4) from the steering column housing assembly (5).
6. Remove the lock bolt spring (3) from the lock bolt assembly (4).