Operation CHARM: Car repair manuals for everyone.
Manuals through 2025 now available!

Our trusted friends have launched a new website named LEMON, which has newer manuals. It also contains all the CHARM manuals.

LEMON is the spiritual successor to CHARM, I recommend you try it!

Link: lemon-manuals.la or lemon-manuals.org.ua

(Some people have issue connecting. LEMON is investigating. For now, use Firefox or change your DNS server)

Or, hide this message: temporarily or permanently

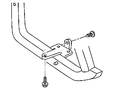
Skid Plate: Service and Repair



Skid Bar Replacement

Removal Procedure




1. Raise the vehicle and suitably support. Refer to Vehicle Lifting.
2. Support the radiator.




3. Remove the center air deflector.




4. Remove the right and left fascia close out panels.




5. Remove the bolts attaching the fascia to the right and left skid bar brackets.




6. Remove the bolt attaching the lower radiator support to the right skid bar bracket and the bolt attaching the support to the left skid bar bracket.




7. Reposition the left brake caliper cooling duct. Refer to Front Brake Caliper Cooling Duct Replacement in Bumpers.




8. Remove the tie strap attaching the AIR hose to the skid bar.
9. Remove the AIR pump bracket attaching bolts.
10. Reposition the AIR pump.
11. Reposition the AIR pump electrical harnesses.




12. Remove the wire harness from the clip on the right rear side of the skid bar.
13. Remove the harness connector from the right front side of the skid bar.
14. Remove the horn bracket with the horns from the skid bar.
15. Disconnect the horn electrical connection.




16. Support the skid bar.
17. Remove the four skid bar to frame attaching bolts.
18. Lower the skid bar removing the right radiator insulator from the skid bar.
19. Remove the skid bar.
20. Transfer parts as necessary.

Installation Procedure




1. Install the right insulator to the radiator.




2. Install the left insulator to the skid bar.
3. Position the skid bar.

Notice: Refer to Fastener Notice in Service Precautions.

4. Install the skid bar to the frame with the attaching bolts.

Tighten the skid bar to frame bolts to 50 N.m (36 lb ft).




5. Install the right bolt and the left bolt attaching the lower radiator support to the skid bar.

Tighten the lower radiator support to skid bar bolts to 2.5 N.m (22 lb in).




6. Install the AIR pump and bracket.

Tighten the AIR pump bracket bolts to 9 N.m (79 lb in).

7. Tie strap the AIR hose to the skid bar.




8. Install the left brake caliper cooling duct.




9. Connect the electrical connector to the horns.
10. Install the horns with bracket to the skid bar.

Tighten the horn bracket bolts to 9 N.m (79 lb in).

11. Install the harness connector to the front of the skid bar.
12. Install the harness to the clip on the rear of the skid bar.




13. Install the bolts attaching the fascia to the right and left skid bar brackets.

Tighten the fascia to skid bar bolts to 5 N.m (44 lb in).




14. Install the right and left fascia close out panels.

Tighten the fascia close out panel bolts to 7 N.m (62 lb in).




15. Install the center air deflector.

Tighten the center air deflector bolts to 7 N.m (62 lb in).

16. Remove the support from the radiator.
17. Lower the vehicle.