Operation CHARM: Car repair manuals for everyone.
Manuals through 2025 now available!

Our trusted friends have launched a new website named LEMON, which has newer manuals. It also contains all the CHARM manuals.

LEMON is the spiritual successor to CHARM, I recommend you try it!

Link: lemon-manuals.la or lemon-manuals.org.ua

(Some people have issue connecting. LEMON is investigating. For now, use Firefox or change your DNS server)

Or, hide this message: temporarily or permanently

Transmission Position Sensor/Switch: Service and Repair

Removal Procedure

Caution: Refer to Battery Disconnect Caution in Service Precautions.

1. Disconnect the negative battery cable.
2. Remove the PNP switch electrical connector at the engine wiring harness.
3. Remove the PNP switch harness from the retaining clamps.






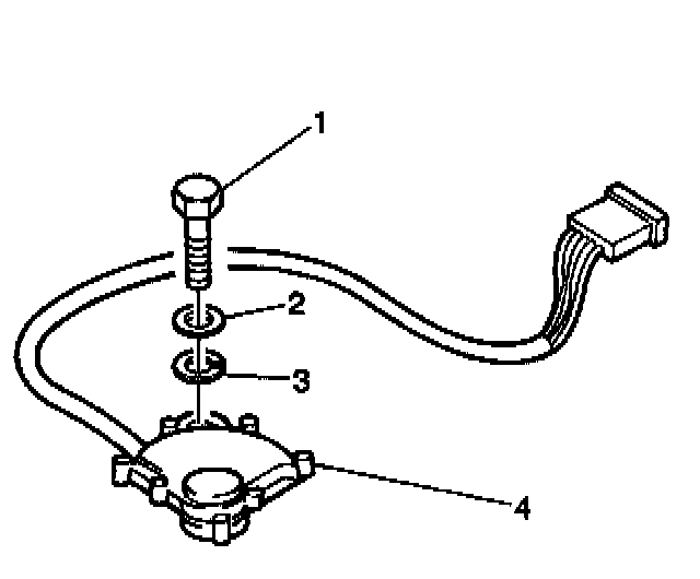
4. Remove 1 bolt and the PNP switch (4) from the transaxle.

Installation Procedure






1. Move the transaxle lever (1) to the N position.





2. Adjust the PNP switch (1) by using a standard flat-bladed screwdriver. Turn the PNP switch clockwise or counterclockwise until you hear 2 clicks.

Notice: Refer to Fastener Notice in Service Precautions.






3. Install the PNP switch (4) to the transaxle. Install the bolt (1) in order to retain the switch.
Tighten the PNP switch mounting bolt to 23 Nm (17 ft. lbs.).
4. Connect the PNP switch electrical connector at the engine wiring harness.
5. Install the PNP switch harness into the retaining clamps.
6. Connect the negative battery cable






7. Upon completion of the PNP switch installation, perform the following steps in order to ensure proper operation:
^ Apply the parking brake, and block the vehicle wheels.
^ With the manual selector lever (5) in the P position, turn the ignition switch to the START position. Verify that the starter motor operates.
^ Stop the engine, and return the ignition switch to the ON position.
^ Move the shift selector lever (5) from the P position to the N position. Turn the ignition switch to the START position, and verify that the starter motor operates.
^ Verify that the starter motor does not operate in D, 2, L, or R