Operation CHARM: Car repair manuals for everyone.
Manuals through 2025 now available!

Our trusted friends have launched a new website named LEMON, which has newer manuals. It also contains all the CHARM manuals.

LEMON is the spiritual successor to CHARM, I recommend you try it!

Link: lemon-manuals.la or lemon-manuals.org.ua

(Some people have issue connecting. LEMON is investigating. For now, use Firefox or change your DNS server)

Or, hide this message: temporarily or permanently

Windshield: Service and Repair




Windshield Replacement

Removal Procedure

Tools Required
* J 24402-A Glass Sealant Remover (Cold Knife)
* J 39032 Stationary Glass Removal Tool
* Isopropyl alcohol or equivalent
* Cartridge-type caulking gun
* Commercial-type utility knife
* Razor Blade Scraper
* Suction cups
* Plastic Paddle




1. Use the following procedure in order to remove the inside rearview mirror (2):

1. Position a screwdriver in the slot of the rearview mirror (2).
2. Gently push the screwdriver while pulling the mirror (2) away from the base (1).




2. Place protective coverings on the fenders.
3. Remove the air inlet grille. Refer to Air Inlet
Grille Panel Replacement in Body Front End.
4. Remove the roof drip-rail moldings. Refer to Molding Replacement - Body Side Roof Drip in Exterior Trim.
5. Remove the windshield pillar garnish moldings. Refer to Garnish Molding Replacement - Windshield Pillar (2-Door) or to Garnish Molding Replacement - Windshield Pillar
(4-Door) in Interior Trim.

Caution: If broken glass falls into the defroster outlets, it can be blown into the passenger compartment and cause personal injury.

6. Apply the masking tape to the painted surfaces around the windshield (1) in order to prevent paint damage and cover the defroster grille outlets.

Caution: Refer to Glass and Sheet Metal Handling Caution in Cautions and Notices.

Important: The windshield reveal molding fills the cavities between the body and windshield and can not be reused if stretched or damaged.


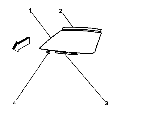
7. Remove the upper windshield reveal molding (2).

1. Grasp the upper corner of the windshield reveal molding (2), and slowly pull the reveal molding away from the windshield (1).
2. If the windshield reveal molding (2) will not release use a utility knife in order to cut around the windshield in order to remove the windshield reveal molding.




8. Remove the windshield stopper (2) from the bottom of the windshield at each side.





Important: Keep the cutting edge of the tool (1) against the windshield (2) when removing the windshield. This will allow the urethane adhesive to be separated from the windshield (2) Leave a base of urethane on the pinchweld flange. The only suitable lubrication is clear water.


9. Use the J 24402-A (1) or J 39032 in order to remove the windshield (2).




10. Remove the windshield (1) from the vehicle with aid of an assistant (2).
11. Inspect the following components for the causes of a broken windshield:

* The flange of the windshield opening
* The windshield reveal molding
* The windshield

12. Inspect for the following problems in order to help prevent future breakage of the windshield:

* High weld
* Solder spots
* Hardened spot weld sealer
* Any other obstruction or an irregularity in the pinchweld flange.

Important: If corrosion of the pinchweld flange is present, or if sheet metal repairs or replacements are required, the pinchweld flange must be refinished in order to restore the bonding area strength. If paint repairs are required, mask the flange bonding area prior to applying the color coat in order to provide a clean primer only surface. Materials such as BASF DE17(R), DuPont 2610(R), Sherwin-Williams PSE 4600 and NP70 (R) and Martin-Semour 5120 and 5130 (R) products are approved for this application.


13. After repairing the opening as indicated, perform the following steps:

1. Inspect the condition of the windshield opening and the adhesive bead in order to determine which installation method should be used. Refer to Short Method Description (Short Method Description) or Extended Method Description (Extended Method Description) for guidelines.
2. Remove no more of the urethane adhesive from the pinchweld than necessary in order to maintain the original shape. This will ensure the proper clearance between the windshield and the pinchweld flange.
3. Remove all traces of broken glass from the outer cowl panel, seats, floor and defroster ducts.
4. Clean around the edge of the inside surface of the windshield with a 50/50 mixture of isopropyl alcohol and water by volume on a dampened lint free cloth.

Installation Procedure

Caution: Refer to Window Retention Caution in Cautions and Notices.

After repairing the opening as indicated, perform the following:




1. Shake the #3 black primer coating that is used on the pinchweld well.

Caution: Refer to Failure to Prep Primer Caution in Cautions and Notices.

2. Use a new dauber to apply the pinchweld primer (black #3) to the surface of the bonding area (1).
3. Allow the primer to dry for approximately 10 minutes. Ensure that all nicks and scratches are covered.




4. Install the windshield stoppers (2) to the bottom at each side of the windshield (1).




5. If using the extended method, install the spacers and the VIN plate filler strip.




6. Install a new reveal molding of the upper windshield (2), to the top edge of the windshield (1). If the original reveal molding is damaged, it must be replaced.
7. Install new acoustic strips if damaged.




8. With the aid of an assistant, fit the dry windshield (1) in the opening in order to determine the correct way to position the windshield (1) in the opening.




9. Use the masking tape (1) in order to mark the location of the windshield (2) in the opening.
10. Slit the masking tape (1) at the top edge and at the sides of the windshield (2).




11. With the aid of an assistant (2) and using suction cups, remove the windshield (1) from the opening.
12. Place the windshield (1) inside up on a clean surface and on a safe surface.




13. If you reuse the original windshield (2), remove almost all of the adhesive from the windshield surface using a clean utility knife or razor blade scraper. Leave a thin film of the existing urethane adhesive (3) on the windshield surface.
Clean the inside surface of the windshield with a 50/50 mixture of isopropyl alcohol and water by volume on a dampened lint free cloth.





Important: Do not remove all traces of the adhesive. Remove all mounds or loose pieces of urethane adhesive.


14. If the extended method is being used remove all of the existing bead of urethane adhesive except approximately 2 mm (3/64 in) from the pinchweld flange.
15. Shake the #3 black pinchweld primer well.
16. Using a new dauber, apply the primer coating (1) to the primed surface of the flange in the bond area.
17. Allow the primer coating to dry for approximately 10 minutes.





Important: Use care when applying the #1 clear windshield preparation in order to prevent the windshield preparation from running into the vision area of the windshield. This primer coating dries almost immediately and may cause discoloration in the vision area of the windshield.


18. Using a new dauber, apply the #3 clear windshield preparation to the area that is approximately 10 mm to 16 mm (3/8 in to 5/8 in) around the entire perimeter of the glass inner surface.
19. Apply a second coat of the glass prep number (clear #1) to the same area of the glass.
20. Wipe the primed area immediately with a lint free cloth.
21. Shake the #2 black pinchweld primer well.




22. Use a new dauber in order to apply the glass primer (black #2) to the same areas that glass prep (clear #1) was applied.
The glass must be installed within 8 hours after applying the primer to the glass. The primed surface of the glass must be kept clean.
23. Allow the glass primer to dry for approximately 10 minutes.




24. If using the short method, cut the tip of the applicator nozzle in order to provide a bead of 6.0 mm (1/4 in).
25. If using the extended method, cut the applicator nozzle in order to provide a bead of 12.7 mm (1/2 in) wide and 12.7 mm (1/2 in ) high.




26. Using a cartridge type caulking gun to apply a smooth, continuous bead of urethane adhesive.
27. When using the short method, apply the urethane adhesive to the existing bead of urethane adhesive on the body.




28. When using the extended method, use the edge of the windshield window or the inside edge of the reveal molding as a guide for the nozzle in order to apply the urethane adhesive (1) to the inner surface of the windshield window (3).
If applying urethane adhesive to the inside edge of the windshield reveal molding (1) use the windshield reveal molding as a guide for the nozzle.




29. With the aid of a assistant, use suction cups in order to install the windshield (2) into the opening.
30. Place the windshield on the lower supports.
31. Align the tape lines (1) on the windshield (2) and on the body pillar.
32. Press the windshield firmly into position.
33. Tape the windshield to the body in order to minimize movement until the urethane adhesive cures.
34. Clean any excess urethane adhesive from the body.





Important: Do not direct a hard stream of high pressure water to the freshly applied urethane adhesive.


35. Use a gentle spray of warm water in order to immediately water-test the windshield.
36. Inspect the windshield for leaks.
37. If you find leaks use a plastic paddle in order to apply extra urethane adhesive at the leak point.
38. Retest the windshield for leaks.
39. In order to correctly cure the urethane, observe the following rules:

* Allow the vehicle to remain at room temperature of 21°C (70°F) at 30 percent or less relative humidity.

Caution: Refer to Repair Material Curing Caution in Cautions and Notices.

* Allow the moisture curing urethane adhesive to cure for at least 6 hours.
* Allow the chemical curing urethane adhesive to cure for at least 1 to 1 1/2 hours.
* Partially lower a door window in order to prevent pressure buildups when closing doors prior to urethane adhesive cure.
* Do not drive the vehicle until the urethane adhesive is completely cured.
* Do not use compressed air in order to dry the urethane adhesive.




40. Install the inside rearview mirror (2) to the vehicle.
41. Install the windshield pillar garnish moldings. Refer to Garnish Molding Replacement - Windshield Pillar (2-Door) or to Garnish Molding Replacement - Windshield Pillar
(4-Door) in Interior Trim.
42. Install the roof drip-rail moldings. Refer to Molding Replacement - Body Side Roof Drip in Exterior Trim.
43. Remove the air inlet grille. Refer to Air
Inlet Grille Panel Replacement in Body Front End.

Caution: If broken glass falls into the defroster outlets, it can be blown into the passenger compartment and cause personal injury.

44. Remove the protective coverings and tape from the vehicle and the headline.