Operation CHARM: Car repair manuals for everyone.
Manuals through 2025 now available!

Our trusted friends have launched a new website named LEMON, which has newer manuals. It also contains all the CHARM manuals.

LEMON is the spiritual successor to CHARM, I recommend you try it!

Link: lemon-manuals.la or lemon-manuals.org.ua

(Some people have issue connecting. LEMON is investigating. For now, use Firefox or change your DNS server)

Or, hide this message: temporarily or permanently

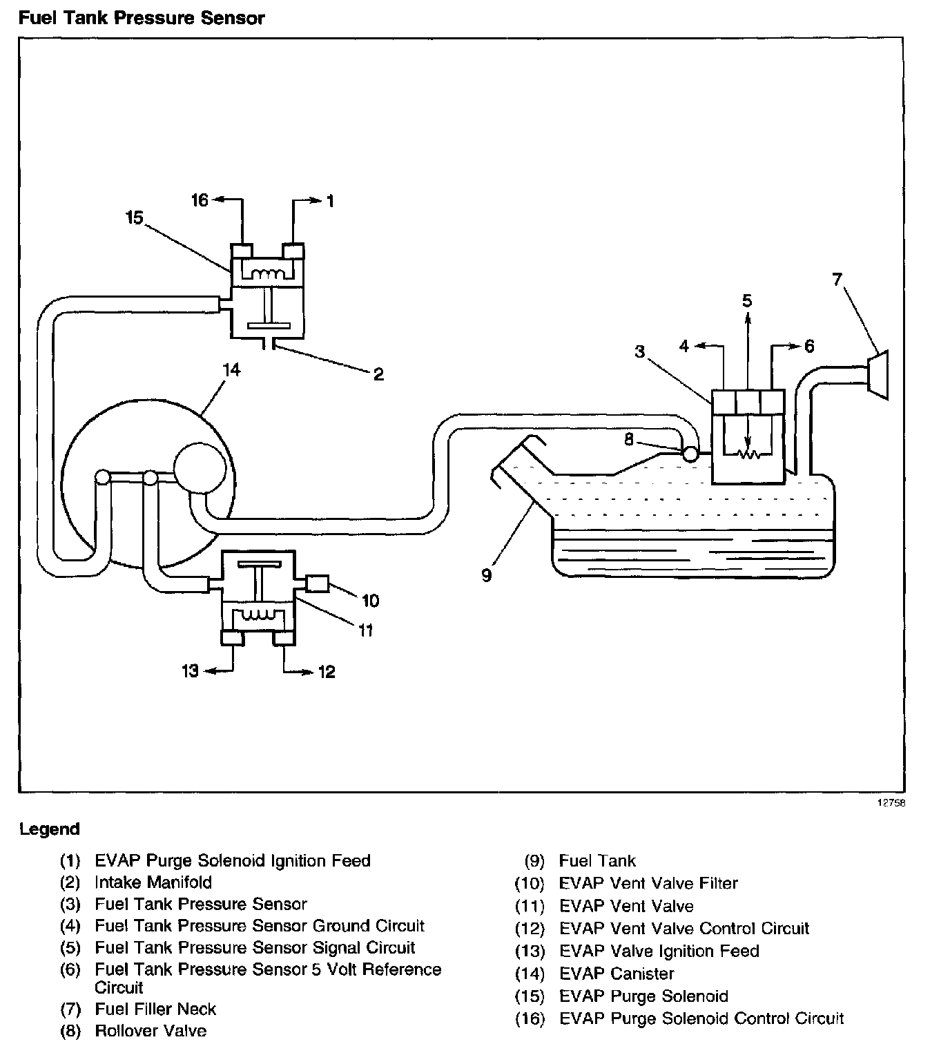
Fuel Tank Pressure Sensor

Fuel Tank Pressure Sensor:




The EVAP system uses a fuel tank pressure sensor, located on top of the fuel tank sender unit, in order to detect when the EVAP system is purging. The fuel tank pressure sensor detects the flow from the engine through the EVAP canister purge solenoid valve. When the EVAP system is not purging, the fuel tank pressure sensor will detect no change in fuel tank vacuum. When the EVAP system is purging, the fuel tank pressure sensor will detect a vacuum in the fuel tank. A change in fuel tank pressure will be displayed on the scar tool.

If any of the following EVAP malfunctions are present:
^ Leak
^ Plug
^ Malfunctioning fuel tank pressure sensor

One of the following DTCs will set:
^ P0440
^ P0442
^ P0446
^ P0452
^ P0453
^ P1441

If any of these DTCs are set, refer to the DTC table for diagnosis.