Operation CHARM: Car repair manuals for everyone.
Manuals through 2025 now available!

Our trusted friends have launched a new website named LEMON, which has newer manuals. It also contains all the CHARM manuals.

LEMON is the spiritual successor to CHARM, I recommend you try it!

Link: lemon-manuals.la or lemon-manuals.org.ua

(Some people have issue connecting. LEMON is investigating. For now, use Firefox or change your DNS server)

Or, hide this message: temporarily or permanently

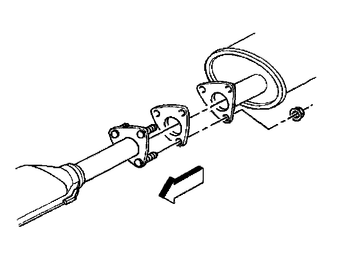
Catalytic Converter: Service and Repair

Catalytic Converter Replacement (2.2 L)

Removal Procedure

Caution: Refer to Protective Goggles and Gloves Caution in Service Precautions.





1. Raise and support the vehicle. Refer to Vehicle Lifting.
2. Disconnect the Heated Oxygen Sensor (HO2S) electrical connector.





3. Remove the catalytic converter to exhaust manifold pipe flange nuts.





4. Remove the muffler to the catalytic converter flange nuts.
5. Remove the catalytic converter from the muffler.





6. Remove the catalytic converter from the catalytic converter hanger.
7. Remove the catalytic converter from the vehicle.
8. Remove the Heated Oxygen Sensor (H02S) as necessary.

Installation Procedure





1. Install the Heated Oxygen Sensor (HO2S) as necessary.
2. Install the catalytic converter and new gasket to the vehicle.
3. Install catalytic converter to the catalytic converter hanger.





4. Install a new gasket and the catalytic converter to the muffler.

Notice: Refer to Fastener Notice in Service Precautions.

5. Install the catalytic converter to the muffler flange nuts.
^ Tighten the catalytic converter to muffler flange nuts to 35 Nm (26 ft. lbs.).





6. Install the catalytic converter to the exhaust manifold pipe flange nuts.
^ Tighten the catalytic converter to the exhaust manifold pipe flange nuts to 35 Nm (26 ft. lbs.).





7. Connect the Heated Oxygen Sensor (HO2S) electrical connector.
8. Lower the vehicle.