Operation CHARM: Car repair manuals for everyone.
Manuals through 2025 now available!

Our trusted friends have launched a new website named LEMON, which has newer manuals. It also contains all the CHARM manuals.

LEMON is the spiritual successor to CHARM, I recommend you try it!

Link: lemon-manuals.la or lemon-manuals.org.ua

(Some people have issue connecting. LEMON is investigating. For now, use Firefox or change your DNS server)

Or, hide this message: temporarily or permanently

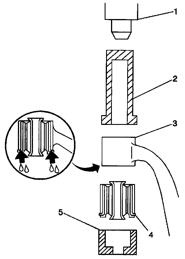
Control Arm Bushing: Service and Repair

Removal Procedure





1. Remove the front suspension lower control arm. Refer to Lower Control Arm Replacement.
2. Use a hydraulic press (1) in order to remove the front bushing from the control arm (4).





3. Use a hydraulic press (1) in order to remove the rear bushing from the control arm (4).

Installation Procedure





Important: When press-fitting bushings, apply compounding oil or soap water to the inside of the control arm housing in order to facilitate the procedure.

1. Use a hydraulic press (1) in order to install the front bushing (4) to the control arm (3). Press-fit the front bushing until the flange contacts the housing edge of the control arm (3).





Important: When press-fitting bushings, apply compounding oil or soap water to the inside of the control arm housing in order to facilitate the procedure.

2. Use a hydraulic press (1) in order to install the rear bushing (4) to the control arm (3). Press-fit the rear bushing until the flange contacts the housing edge of the control arm (3).
3. Install the front suspension lower control arm.