Operation CHARM: Car repair manuals for everyone.
Manuals through 2025 now available!

Our trusted friends have launched a new website named LEMON, which has newer manuals. It also contains all the CHARM manuals.

LEMON is the spiritual successor to CHARM, I recommend you try it!

Link: lemon-manuals.la or lemon-manuals.org.ua

(Some people have issue connecting. LEMON is investigating. For now, use Firefox or change your DNS server)

Or, hide this message: temporarily or permanently

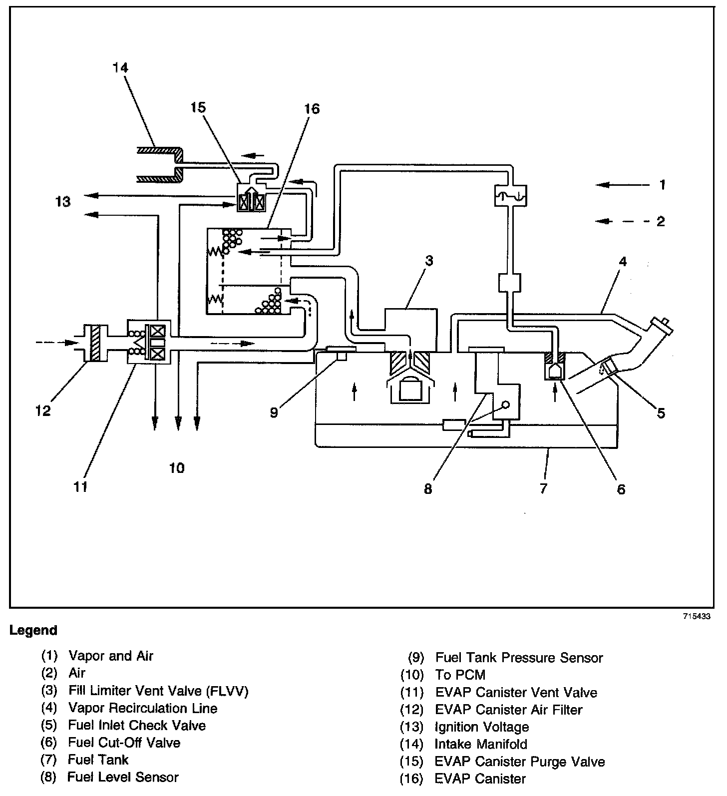
General Information




The Evaporative Emission (EVAP) control system limits fuel vapor emissions to the atmosphere. The EVAP system transfers the fuel vapor from a sealed fuel tank to an activated carbon (charcoal) storage device (EVAP canister). The EVAP canister will store the fuel vapors until the engine is able to use them.

When the engine is able to use the extra fuel vapor, the fuel vapor is purged from the carbon element by intake air flow and consumed in the normal combustion process.

The enhanced Evaporative Emission (EVAP) system is required to detect evaporative fuel system leaks as small as 1 mm (0.040 inch) between the fuel filler cap and the purge valve. The system can test the evaporative emission system integrity by applying a vacuum signal, ported or manifold, to the fuel tank. This will create a small vacuum that can be monitored for leaks.