Operation CHARM: Car repair manuals for everyone.
Manuals through 2025 now available!

Our trusted friends have launched a new website named LEMON, which has newer manuals. It also contains all the CHARM manuals.

LEMON is the spiritual successor to CHARM, I recommend you try it!

Link: lemon-manuals.la or lemon-manuals.org.ua

(Some people have issue connecting. LEMON is investigating. For now, use Firefox or change your DNS server)

Or, hide this message: temporarily or permanently

Pinion Preload Check

Pinion Preload Check

^ Tools Required
- J6133-01 Pinion Bearing Installer
- J25273 Pinion Seal Installer
- J8614-01 Pinion Flange Holder

Installation Procedure
1. Install a pinion selective shim (2) onto the pinion gear shaft.





2. Install the pinion bearing (1) onto the pinion gear shaft. Use the J6133-01.
3. Place the pinion gear (3) on a hydraulic press.
4. Install the inner pinion bearing on the pinion gear shift shaft with the tapered side facing away from the pinion gear.
5. Place the J6133-01.





6. Install a new collapsible spacer (4) onto the pinion gear shaft with the short shank toward the pinion gear using the J37769.
7. Install the outer pinion bearing (3) and the pinion gear (5) into the differential carrier (2).





8. Install a new pinion oil seal into the differential carrier using the J25273.
9. Apply wheel bearing lubricant GM P/N 1051344, or equivalent, to the new pinion oil seal lip.

Important: Do not overtighten the pinion flange nut when adjusting the bearing preload. Tighten the pinion flange nut gradually while taking frequent pinion bearing preload measurements with a torque wrench. If overtightening exists the collapsible spacer will crush requiring a new collapsible spacer before pinion bearing preload can be properly adjusted.

10. Adjust the pinion bearing preload using the J8614-01
^ Tighten the nut gradually in increments of 5 Nm (44 inch lbs.).
11. Between each increments of tightening, remove the J8614-01.





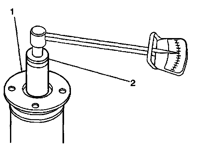
12. Measure the bearing preload using a torque wrench and a 27 mm socket (2).
13. The pinion gear should require 1.2 Nm (11 inch lbs.) in order to rotate.
14. If the pinion bearing preload is less than specified, repeat the adjustment procedure until proper pinion bearing preload has been attained.
15. Install the pinion flange nut.
16. Install the side bearing races onto the differential side bearings.
17. Install the differential assembly into the differential carrier.





18. Install both side bearing adjusters (2) on the side bearing races.
19. Install both side bearing caps onto differential carrier, secure with the four side bearing cap bolts.
^ Tighten differential side bearing cap bolts to 15 Nm (11 ft. lbs.).