Operation CHARM: Car repair manuals for everyone.
Manuals through 2025 now available!

Our trusted friends have launched a new website named LEMON, which has newer manuals. It also contains all the CHARM manuals.

LEMON is the spiritual successor to CHARM, I recommend you try it!

Link: lemon-manuals.la or lemon-manuals.org.ua

(Some people have issue connecting. LEMON is investigating. For now, use Firefox or change your DNS server)

Or, hide this message: temporarily or permanently

Front Caster and Camber Adjustment

Front Caster and Camber Adjustment

- Tools Required
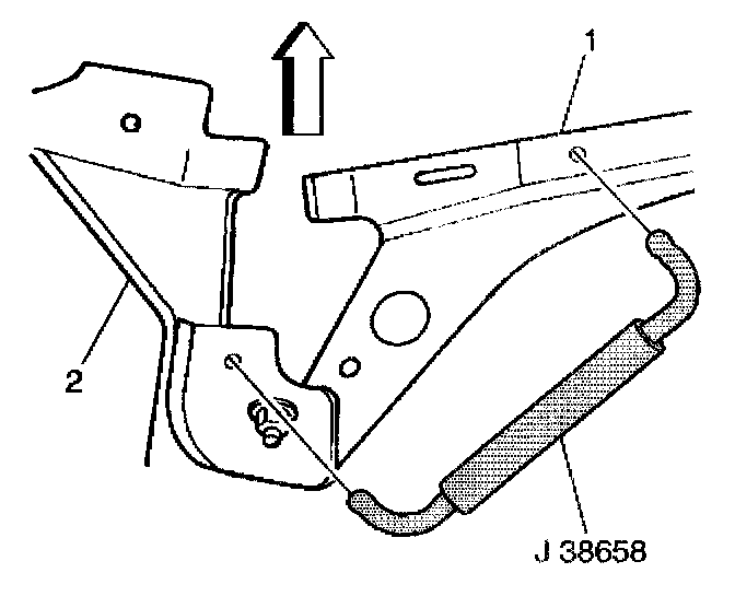
- J 38658 Caster/Camber Adjusting Tool





1. Before making any adjustments to the caster or camber, jounce the front bumper three times in order to allow the vehicle to return to the normal height.
2. Raise and suitably support the vehicle. Refer to Vehicle Lifting.
3. Loosen the lower control arm nuts.
4. Install the J 38658 to the holes in the lower control arm (2) and front crossmember (1).
5. Adjust the camber by rotating the turnbuckle on J 38658.
- Rotating the turnbuckle clockwise will increase the camber.
- Rotating the turnbuckle counterclockwise will decrease the camber.





6. Install the J 38658 to the holes in the lower control arm (1) and the front crossmember (2).
- Rotating the turnbuckle clockwise will increase the caster.
- Rotating the turnbuckle counterclockwise will decrease the caster.
7. Adjust caster by rotating the turnbuckle on the J 38658.
8. Remove the J 38658 from the holes.

Notice: Refer to Fastener Notice in Service Precautions.

9. Tighten the lower control arm nuts.
- Tighten the lower control arm nuts to 100 Nm (74 ft. lbs.).
10. Lower the vehicle.