Operation CHARM: Car repair manuals for everyone.
Manuals through 2025 now available!

Our trusted friends have launched a new website named LEMON, which has newer manuals. It also contains all the CHARM manuals.

LEMON is the spiritual successor to CHARM, I recommend you try it!

Link: lemon-manuals.la or lemon-manuals.org.ua

(Some people have issue connecting. LEMON is investigating. For now, use Firefox or change your DNS server)

Or, hide this message: temporarily or permanently

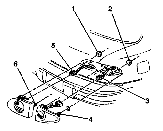
Backup Lamp: Service and Repair

REMOVAL PROCEDURE




1. Open the rear compartment.
2. Remove the bulb/socket from the backup lamp.
3. Remove the bulb from the socket, if required.
4. Disconnect the electrical connector (5) from the backup lamp.
5. Remove the nuts (1) from the backup lamp.
6. Remove the backup lamp from the rear compartment lid.

INSTALLATION PROCEDURE




1. Install the bulb to the socket, if required.
2. Install the bulb/socket to the backup lamp.
3. Connect the electrical connector (5) to the backup lamp.

NOTE: Note the correct routing of the electrical wiring. Failure to reinstall the wiring properly could result in damage to the wiring.

4. Position the backup lamp to the rear compartment lid.

NOTE: Refer to Fastener Notice in Service Precautions.

5. Install the nuts (1) to the backup lamp.

Tighten
Tighten the backup lamp nuts to 2 N.m (18 lb in).

6. Close the rear compartment.