Operation CHARM: Car repair manuals for everyone.
Manuals through 2025 now available!

Our trusted friends have launched a new website named LEMON, which has newer manuals. It also contains all the CHARM manuals.

LEMON is the spiritual successor to CHARM, I recommend you try it!

Link: lemon-manuals.la or lemon-manuals.org.ua

(Some people have issue connecting. LEMON is investigating. For now, use Firefox or change your DNS server)

Or, hide this message: temporarily or permanently

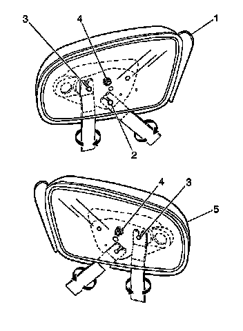
Mirror Face Replacement



Mirror Face Replacement

Tools Required

J 38778 Door Trim Pad Remover

Removal Procedure

Caution: Refer to Glass and Sheet Metal Handling Caution in Service Precautions.

1. Insert the J 38778 (or equivalent) between the mirror backing plate and the housing.




2. Remove the mirror from the backing plate.

* For the left mirror (1), twist the J 38778 counterclockwise.
* For the right mirror (5), twist the J 38778 clockwise.




3. If the jackscrews came off in the mirror backing plate, press them to the side opposite the key (on the ball end) to remove them.

Installation Procedure

1. Insert the jackscrews onto the motor drive pins. Once started, press the jackscrew sides together, then press down to seat them.




2. Rotate the jack screw keys (2) in order to ensure that the keys face the center hub (3).




3. With the palm of your gloved hand, press firmly on the center of the glass until the case seats onto the hub.
4. Pivot the mirror to engage the jackscrews.
5. Rotate the mirror face back and forth. A clicking sound will be heard when the jack screws are properly engaged.